Zurück zu
>
Roth / TORO
>
Handgeräte
>
Schneefräsen
>
einstufig
>
CR 1000
>
603/38195
>
1000001
>
Holm
Ersatzteillisten für Toro Roth / TORO Holm
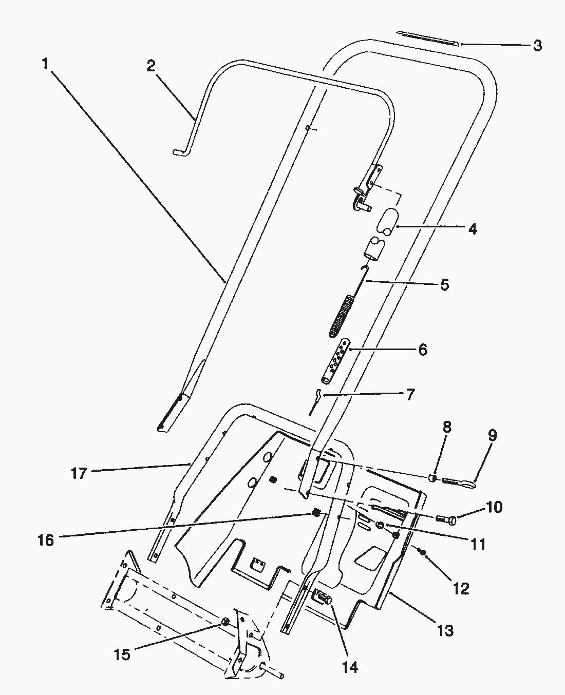
Pos.
Bezeichnung
Ersatzteilnummer
1
Handle-Upper
71-5090
2
Bail Assembly
71-5120
3
Klebeschild
66-6870
4
Federabdeckung
71-5530
5
Feder
71-5480
6
Stellplatte
71-5330
7
Cable-Clutch
71-5400
8
Buechse
55-9370
9
Augenbolzen
3299-1
10
Schraube
32105-11
11
Mutter
3290-486
12
Schraube
32144-53
13
Haube U.T.
71-5040
14
Schraube
322-3
15
MUTTER
3296-29
16
Mutter
3290-225
17
Handle-Lower
71-5370
Gebrauchsanweisungen
Toro
Roth / TORO
Aufsitzmäher
Handgeräte
Kehrmaschinen
Schneefräsen
Zubehör
zweistufig
einstufig
Snow Commander
CCR 3650 GTS
CCR 3000
CCR 2450
CCR 2400
CCR 2000
CR 1000
603/38196
603/38195
69000001
59000001
49000001
39000001
2000001
1000001
Motor Tecumseh Modell-Nr. HSK600 Typ 1660-N
Starter Nr. 590537
Vergaser Nr. 632552
Holm
StarterMotor
Motor
Rotor
Rotorgehäuse
oberer Abdeckung (Fortsetzung)
oberer Abdeckung
0000001
603/38191
CR 20
CR 20 R
S 620
S 200
CCR Powerlite
Sauger/Bläser
Rasenmäher
Robin
Impressum
(C) by motoruf