Viking Benzinrasenmäher MB 555 KS D - Getriebe Ersatzteile
D - Getriebe MB 555 KS

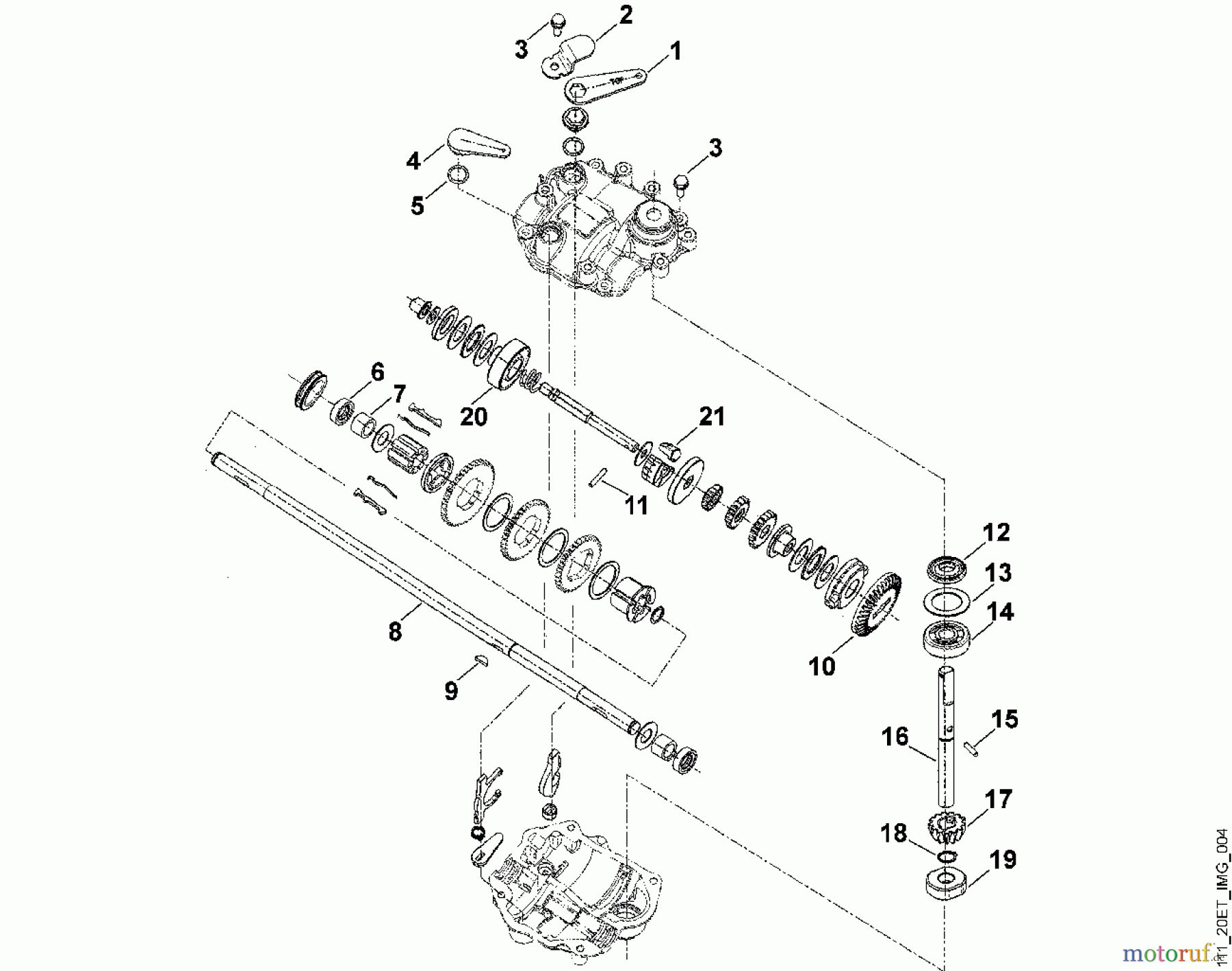
Hier finden Sie die Ersatzteilzeichnung für Viking Rasenmäher Benzinrasenmäher MB 555 KS D - Getriebe. Wählen Sie das benötigte Ersatzteil aus der Ersatzteilliste Ihres Viking Gerätes aus und bestellen Sie einfach online. Viele Viking Ersatzteile halten wir ständig in unserem Lager für Sie bereit.


Qualitätsmanagement
Informieren Sie uns, wenn Sie einen Fehler gefunden haben.



