Viking Benzinrasenmäher MB 415, MB 465, MB 465 C E - Grasfangkorb Ersatzteile
E - Grasfangkorb MB 415, MB 465, MB 465 C

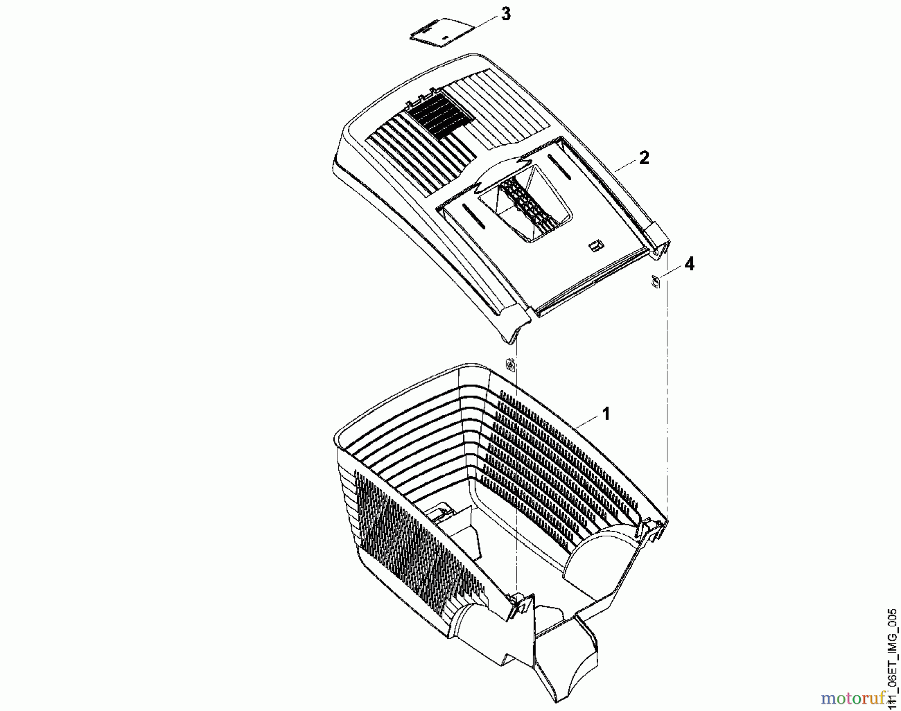
Hier finden Sie die Ersatzteilzeichnung für Viking Rasenmäher Benzinrasenmäher MB 415, MB 465, MB 465 C E - Grasfangkorb. Wählen Sie das benötigte Ersatzteil aus der Ersatzteilliste Ihres Viking Gerätes aus und bestellen Sie einfach online. Viele Viking Ersatzteile halten wir ständig in unserem Lager für Sie bereit.
| BildNr | Artikel Nummer | Bezeichnung | |
| 1 | 6336 703 9600 | Grasfangkorbunterteil | |
| 2 | 6336 760 2100 | Grasfangkorboberteil | |
| 2 | 6336 703 9605 | * Grasfangkorboberteil | |
| 3 | ![]() | 6118 708 9400 | Lasche |
| 4 | ![]() | 9991 003 0685 | Sicherungsscheibe |


Qualitätsmanagement
Informieren Sie uns, wenn Sie einen Fehler gefunden haben.



