Hitachi ET-Liste RB100EF Ersatzteile
ET-Liste RB100EF Blasgeräte

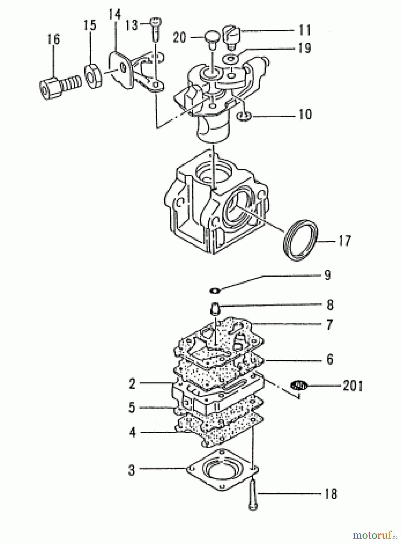
Hier finden Sie die Ersatzteilzeichnung für Hitachi Blasgeräte ET-Liste RB100EF Seite 7. Wählen Sie das benötigte Ersatzteil aus der Ersatzteilliste Ihres Hitachi Gerätes aus und bestellen Sie einfach online. Viele Hitachi Ersatzteile halten wir ständig in unserem Lager für Sie bereit.



