Hitachi ET-Liste RB85E Ersatzteile
ET-Liste RB85E Blasgeräte

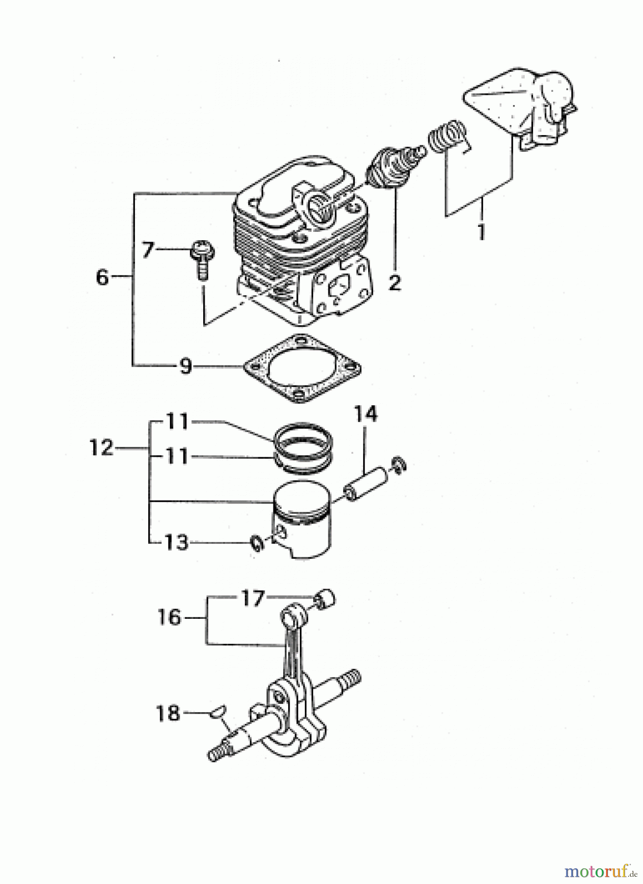
Hier finden Sie die Ersatzteilzeichnung für Hitachi Blasgeräte ET-Liste RB85E Seite 1. Wählen Sie das benötigte Ersatzteil aus der Ersatzteilliste Ihres Hitachi Gerätes aus und bestellen Sie einfach online. Viele Hitachi Ersatzteile halten wir ständig in unserem Lager für Sie bereit.


Qualitätsmanagement
Informieren Sie uns, wenn Sie einen Fehler gefunden haben.

