Hitachi ET-Liste CG47EY-T Ersatzteile
ET-Liste CG47EY-T Motorsensen

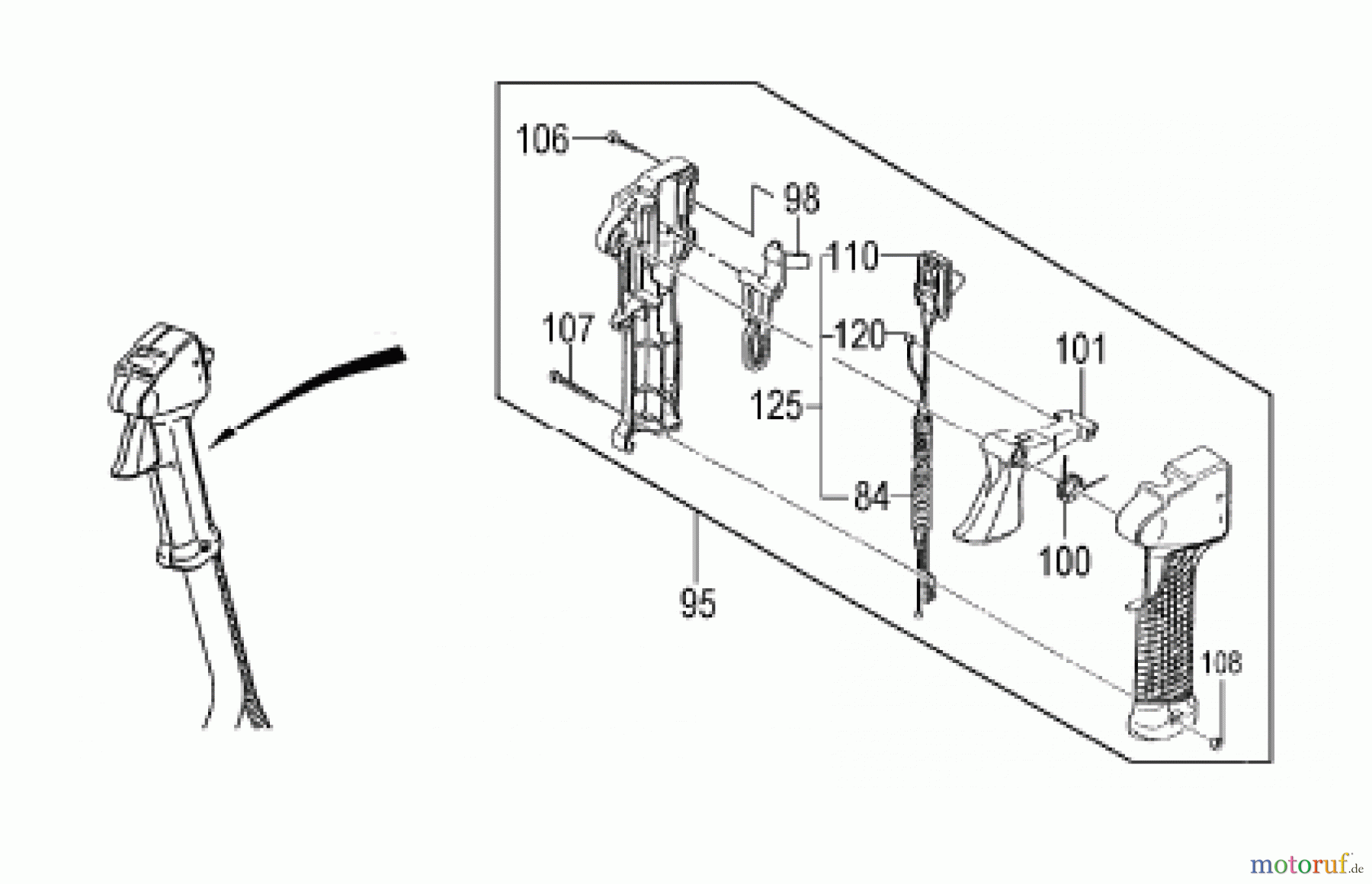
Hier finden Sie die Ersatzteilzeichnung für Hitachi Motorsensen ET-Liste CG47EY-T Seite 10. Wählen Sie das benötigte Ersatzteil aus der Ersatzteilliste Ihres Hitachi Gerätes aus und bestellen Sie einfach online. Viele Hitachi Ersatzteile halten wir ständig in unserem Lager für Sie bereit.



