Hitachi ET-Liste CG33EJ Ersatzteile
ET-Liste CG33EJ Motorsensen

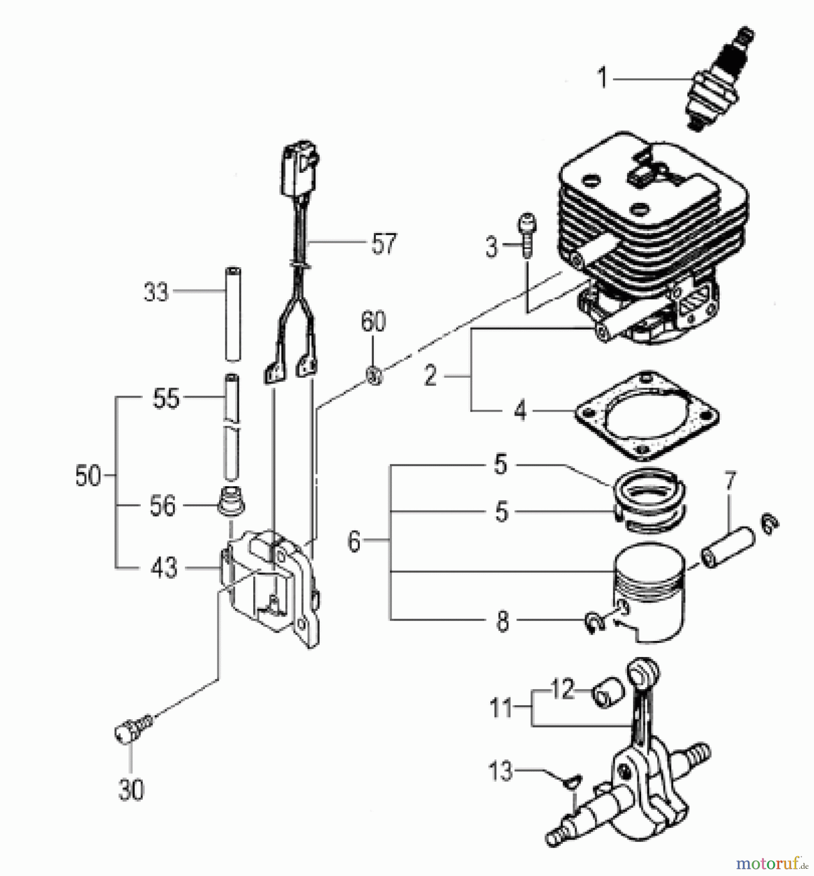
Hier finden Sie die Ersatzteilzeichnung für Hitachi Motorsensen ET-Liste CG33EJ Seite 1. Wählen Sie das benötigte Ersatzteil aus der Ersatzteilliste Ihres Hitachi Gerätes aus und bestellen Sie einfach online. Viele Hitachi Ersatzteile halten wir ständig in unserem Lager für Sie bereit.




