Hitachi ET-Liste CG28EJ-EJSL Ersatzteile
ET-Liste CG28EJ-EJSL Motorsensen

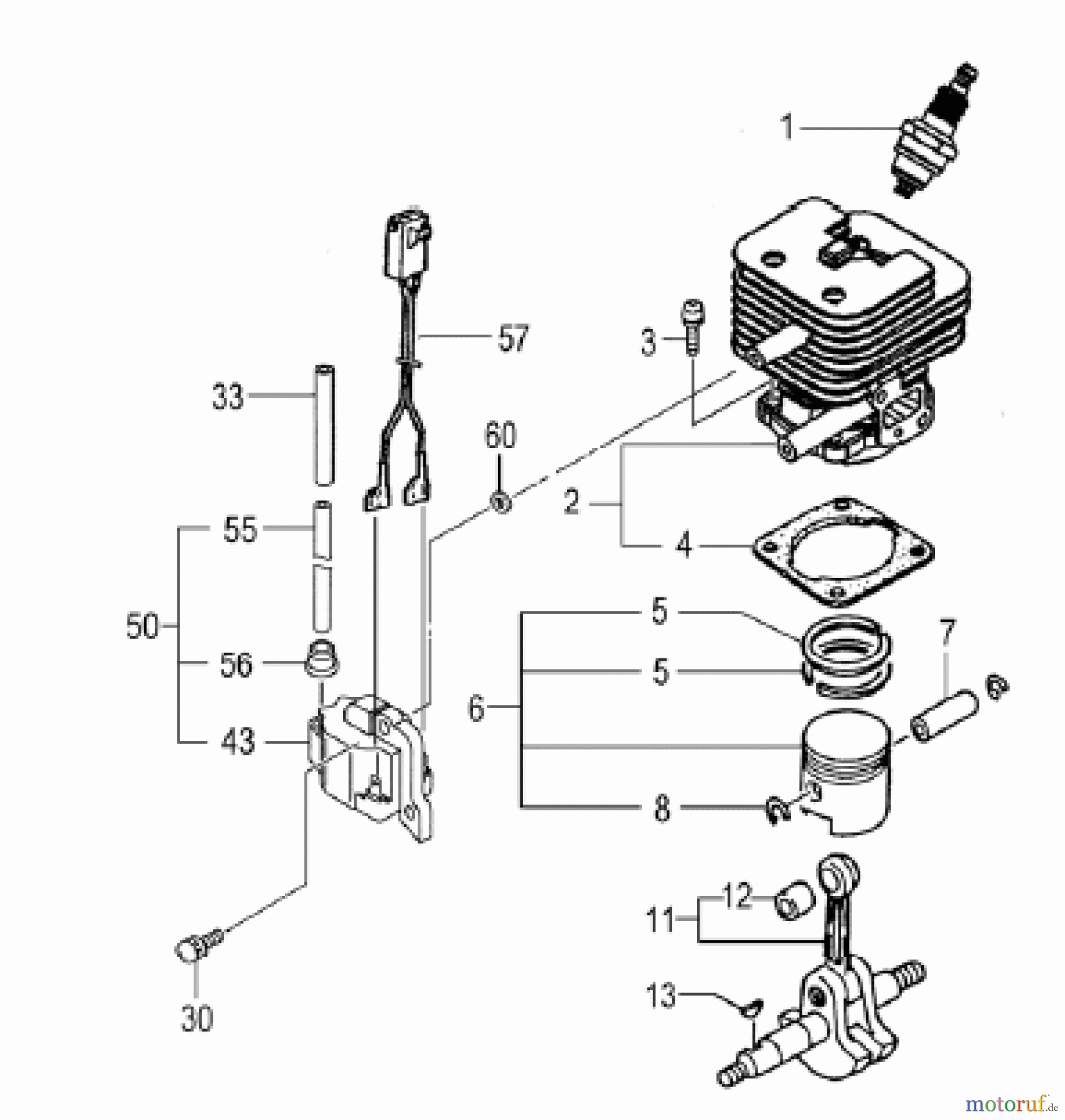
Hier finden Sie die Ersatzteilzeichnung für Hitachi Motorsensen ET-Liste CG28EJ-EJSL Seite 1. Wählen Sie das benötigte Ersatzteil aus der Ersatzteilliste Ihres Hitachi Gerätes aus und bestellen Sie einfach online. Viele Hitachi Ersatzteile halten wir ständig in unserem Lager für Sie bereit.


Qualitätsmanagement
Informieren Sie uns, wenn Sie einen Fehler gefunden haben.

