Tchibo 2.34 E 272213 (2011) Elektromotor, Messer Ersatzteile
Elektromotor, Messer 272213 (2011)

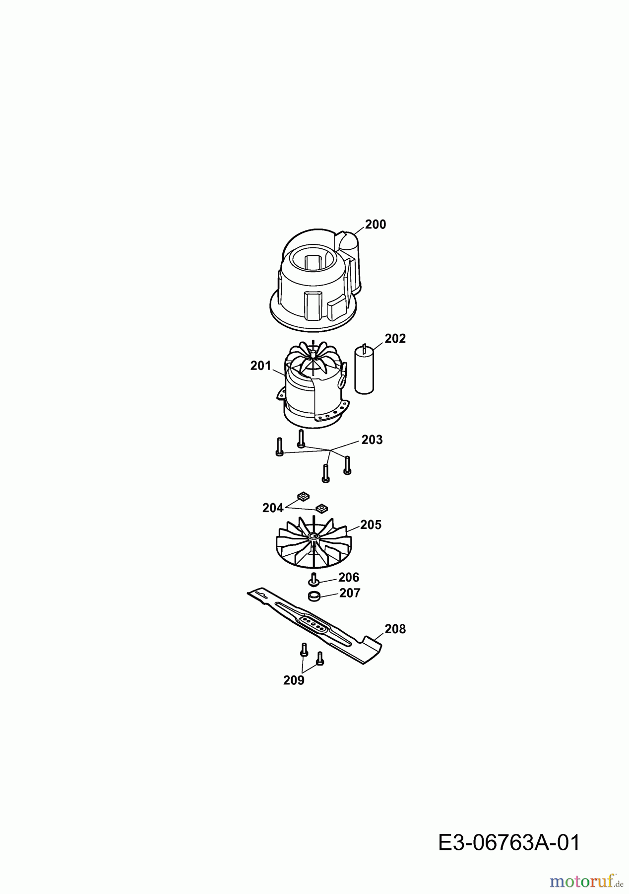
Hier finden Sie die Ersatzteilzeichnung für Tchibo Elektromäher 2.34 E 272213 (2011) Elektromotor, Messer. Wählen Sie das benötigte Ersatzteil aus der Ersatzteilliste Ihres Tchibo Gerätes aus und bestellen Sie einfach online. Viele Tchibo Ersatzteile halten wir ständig in unserem Lager für Sie bereit.



