Tchibo 2.34 E 276212 (2011) Grasfangsack Ersatzteile
Grasfangsack 276212 (2011)

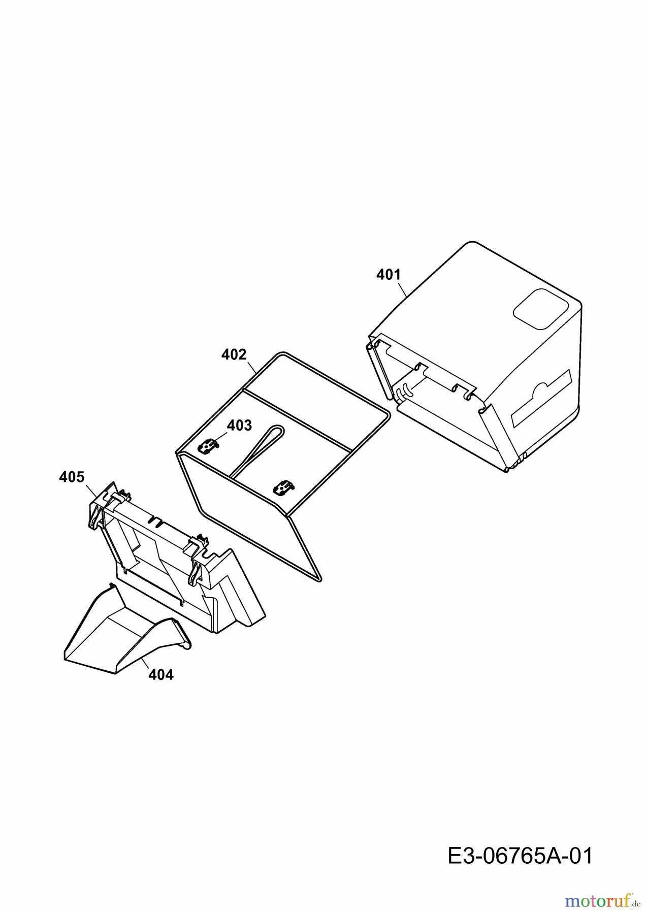
Hier finden Sie die Ersatzteilzeichnung für Tchibo Elektromäher 2.34 E 276212 (2011) Grasfangsack. Wählen Sie das benötigte Ersatzteil aus der Ersatzteilliste Ihres Tchibo Gerätes aus und bestellen Sie einfach online. Viele Tchibo Ersatzteile halten wir ständig in unserem Lager für Sie bereit.
| BildNr | Artikel Nummer | Bezeichnung | |
| 401 | 4909337 | Fangsacktuch 2.34E rot RAL3000 | |
| 402 | 4904034 | Fangsackgestell kpl.-lackiert | |
| 403 | 4921309 | Sicherungsriegel schwarz | |
| 404 | 4904312 | Schütte 34E | |
| 405 | 4904310 | Mundstück 34er rot (RAL3000) | |



