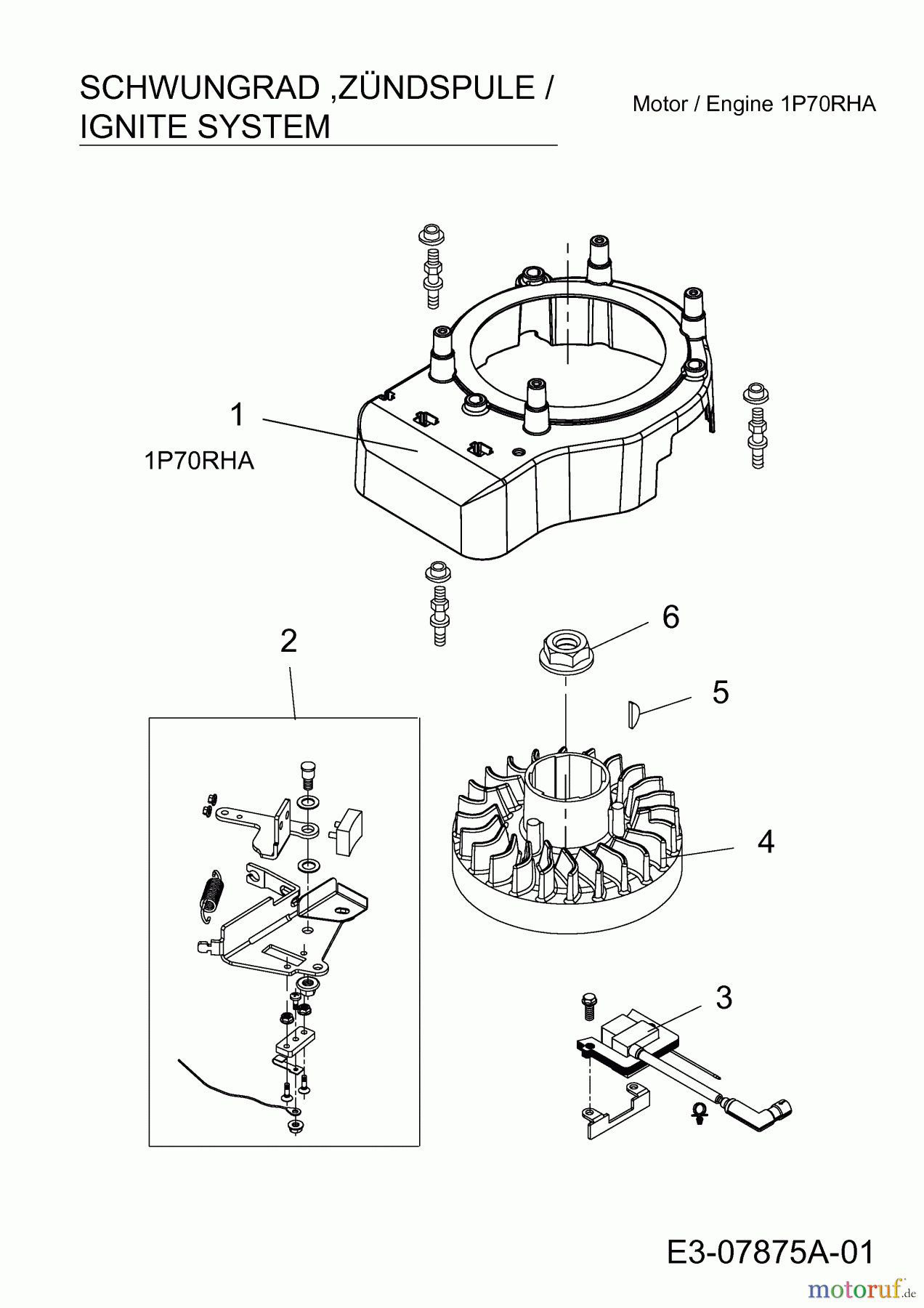
MTD-Motoren 1 P 70 RHA 752Z1P70RHA (2012) Schwungrad, Zündspule Ersatzteile
Schwungrad, Zündspule 752Z1P70RHA (2012)

Hier finden Sie die Ersatzteilzeichnung für MTD-Motoren MTD vertikal 1 P 70 RHA 752Z1P70RHA (2012) Schwungrad, Zündspule. Wählen Sie das benötigte Ersatzteil aus der Ersatzteilliste Ihres MTD-Motoren Gerätes aus und bestellen Sie einfach online. Viele MTD-Motoren Ersatzteile halten wir ständig in unserem Lager für Sie bereit.
| BildNr | Artikel Nummer | Bezeichnung | |
| 1 | 751-10764 | ABDECKUNG | |
| 2 | 751-10321 | STOP-SCHALTER UND BREMSE 1P70 | |
| 3 | ![]() | 751-10366 | ZÜNDSPULE 1P70 FH/U |
| 4 | 751-11046 | SCHWUNGRAD | |
| 5 | 751-10307 | KEIL (LÜFTERRAD) | |
| 6 | 712-04221 | MUTTER M14 | |


Qualitätsmanagement
Informieren Sie uns, wenn Sie einen Fehler gefunden haben.


