Troy-Bilt Troy Bilt 40 11A-I49Q563 (2012) Mähwerksgehäuse Ersatzteile
Mähwerksgehäuse 11A-I49Q563 (2012)

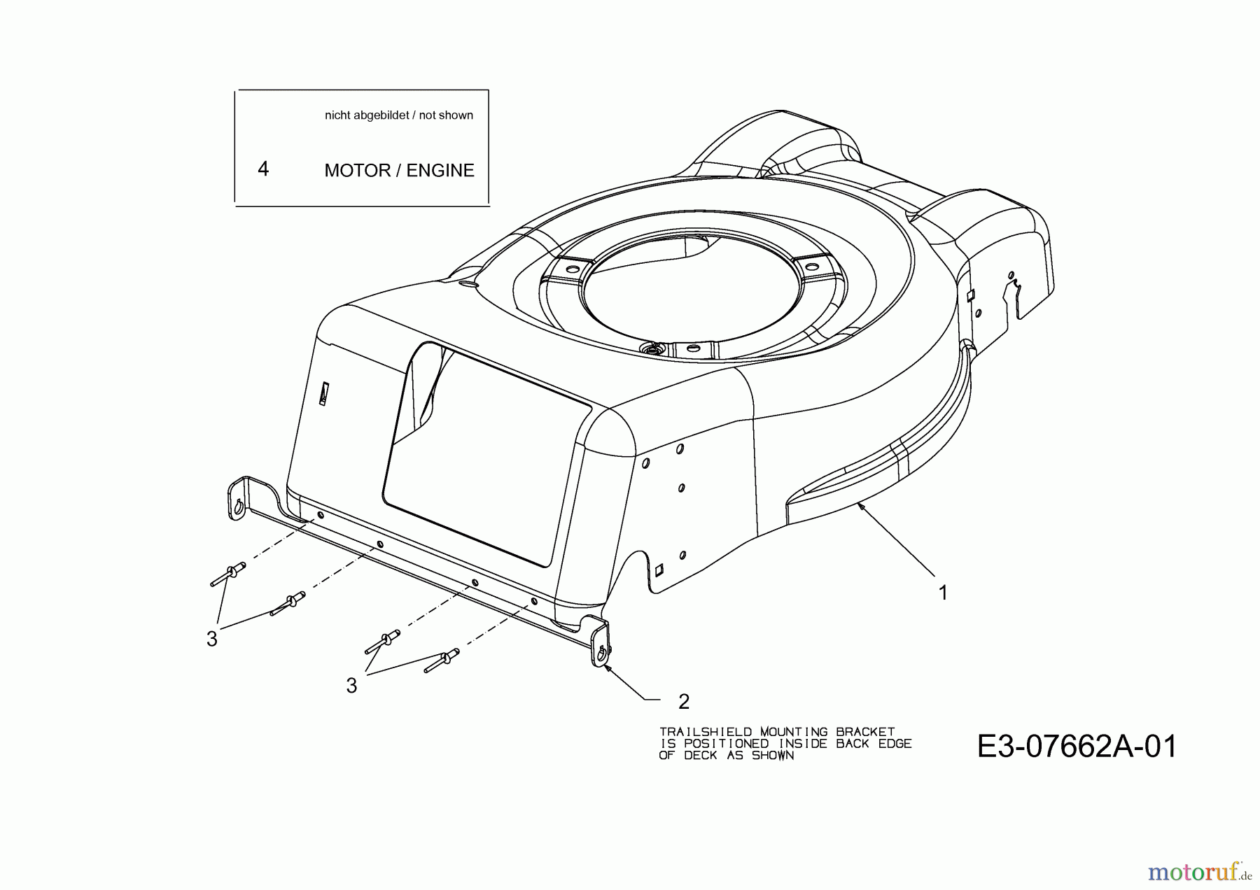
Hier finden Sie die Ersatzteilzeichnung für Troy-Bilt Motormäher Troy Bilt 40 11A-I49Q563 (2012) Mähwerksgehäuse. Wählen Sie das benötigte Ersatzteil aus der Ersatzteilliste Ihres Troy-Bilt Gerätes aus und bestellen Sie einfach online. Viele Troy-Bilt Ersatzteile halten wir ständig in unserem Lager für Sie bereit.
| BildNr | Artikel Nummer | Bezeichnung | |
| 1 | 787-02102638 | GEHÄUSE:RD:40CM:W/TRSHD | |
| 2 | 787-02101637 | HALTELEISTE | |
| 3 | 728-0123 | BLINDNIET:.187 DIA x.450:STY1 | |
| 4 | 752H652561 | B-MOTOR HONDA 80MM SHAFT | |



