Verts Loisirs VLK2 25H127 13AI61TP617 (2008) Armaturenbrett Ersatzteile
Armaturenbrett 13AI61TP617 (2008)

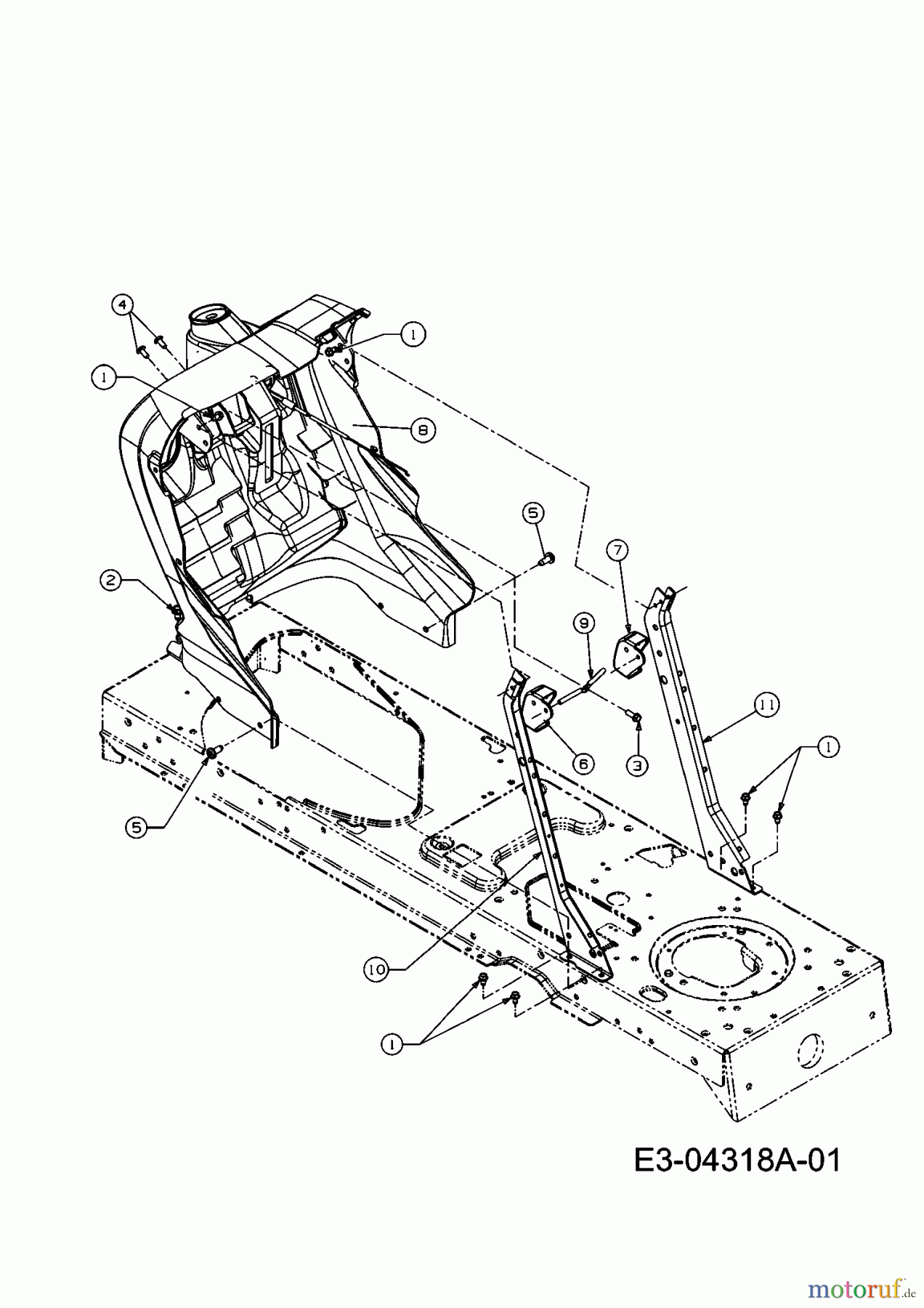
Hier finden Sie die Ersatzteilzeichnung für Verts Loisirs Rasentraktoren VLK2 25H127 13AI61TP617 (2008) Armaturenbrett. Wählen Sie das benötigte Ersatzteil aus der Ersatzteilliste Ihres Verts Loisirs Gerätes aus und bestellen Sie einfach online. Viele Verts Loisirs Ersatzteile halten wir ständig in unserem Lager für Sie bereit.


Qualitätsmanagement
Informieren Sie uns, wenn Sie einen Fehler gefunden haben.





