Topflite 28 VE 16AED0I-649 (1999) Grasfangsack, Holm Ersatzteile
Grasfangsack, Holm 16AED0I-649 (1999)

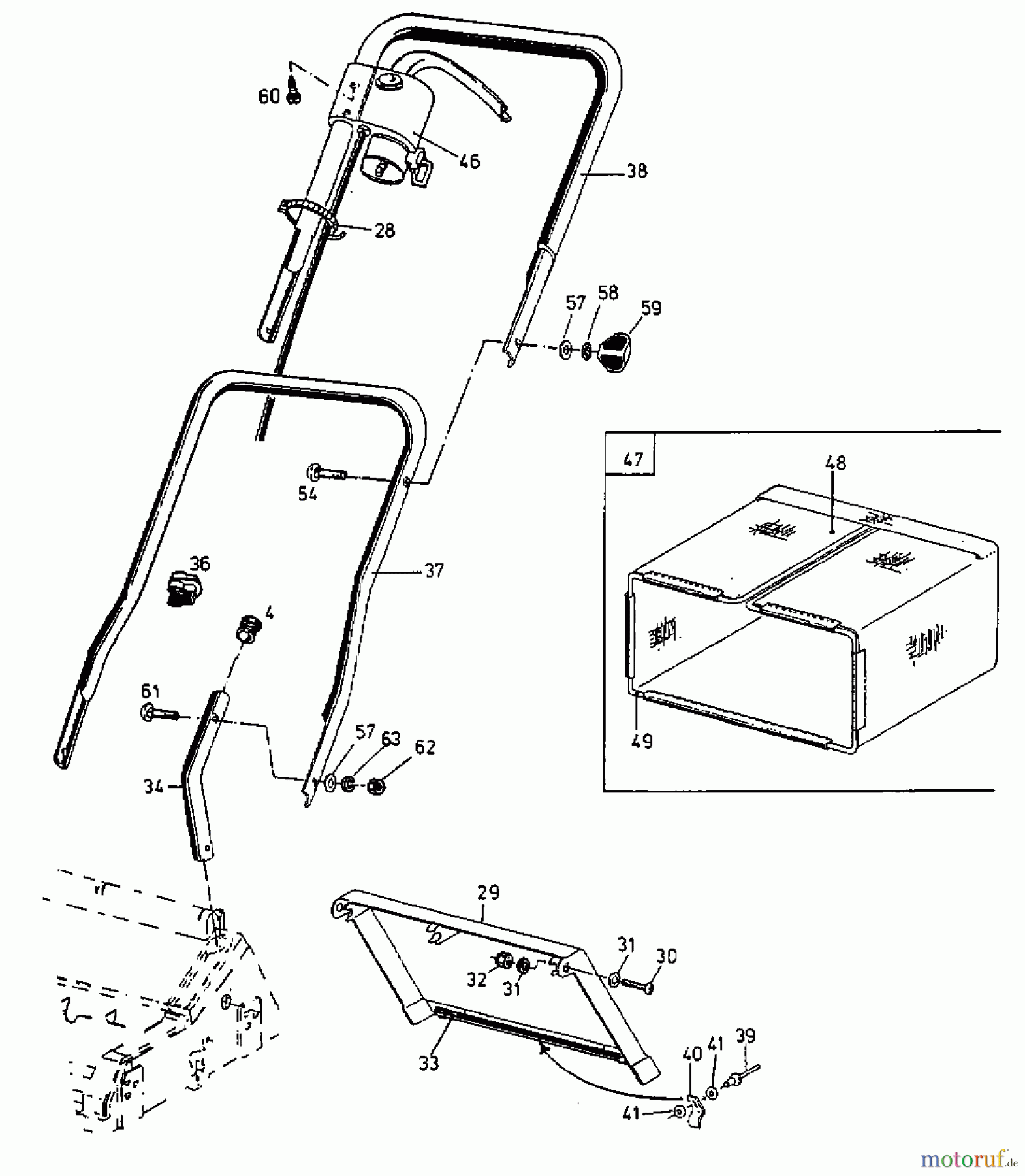
Hier finden Sie die Ersatzteilzeichnung für Topflite Elektrovertikutierer 28 VE 16AED0I-649 (1999) Grasfangsack, Holm. Wählen Sie das benötigte Ersatzteil aus der Ersatzteilliste Ihres Topflite Gerätes aus und bestellen Sie einfach online. Viele Topflite Ersatzteile halten wir ständig in unserem Lager für Sie bereit.


Qualitätsmanagement
Informieren Sie uns, wenn Sie einen Fehler gefunden haben.



