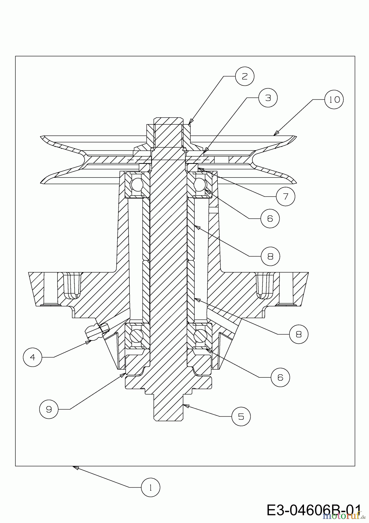
Cub Cadet All Rounder 1050 17AI9BKP603 (2012) Messerspindel 618-04126B Ersatzteile
Messerspindel 618-04126B 17AI9BKP603 (2012)

Hier finden Sie die Ersatzteilzeichnung für Cub Cadet Zero Turn All Rounder 1050 17AI9BKP603 (2012) Messerspindel 618-04126B. Wählen Sie das benötigte Ersatzteil aus der Ersatzteilliste Ihres Cub Cadet Gerätes aus und bestellen Sie einfach online. Viele Cub Cadet Ersatzteile halten wir ständig in unserem Lager für Sie bereit.


Qualitätsmanagement
Informieren Sie uns, wenn Sie einen Fehler gefunden haben.









