Cub Cadet CC 98 B 12A-999H603 (2013) Schalthebel Ersatzteile
Schalthebel 12A-999H603 (2013)

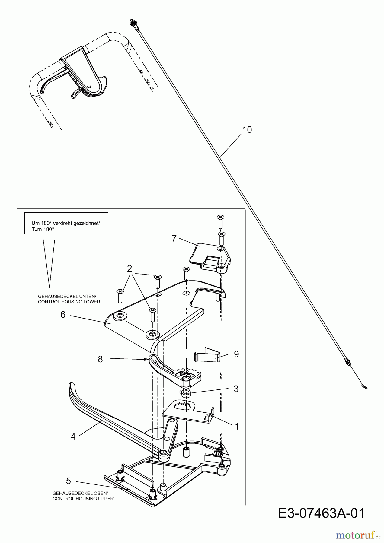
Hier finden Sie die Ersatzteilzeichnung für Cub Cadet Motormäher mit Antrieb CC 98 B 12A-999H603 (2013) Schalthebel. Wählen Sie das benötigte Ersatzteil aus der Ersatzteilliste Ihres Cub Cadet Gerätes aus und bestellen Sie einfach online. Viele Cub Cadet Ersatzteile halten wir ständig in unserem Lager für Sie bereit.




