Yard-Man E 7 E 3 F 31AE7E3F643 (1999) Getriebe Ersatzteile
Getriebe 31AE7E3F643 (1999)

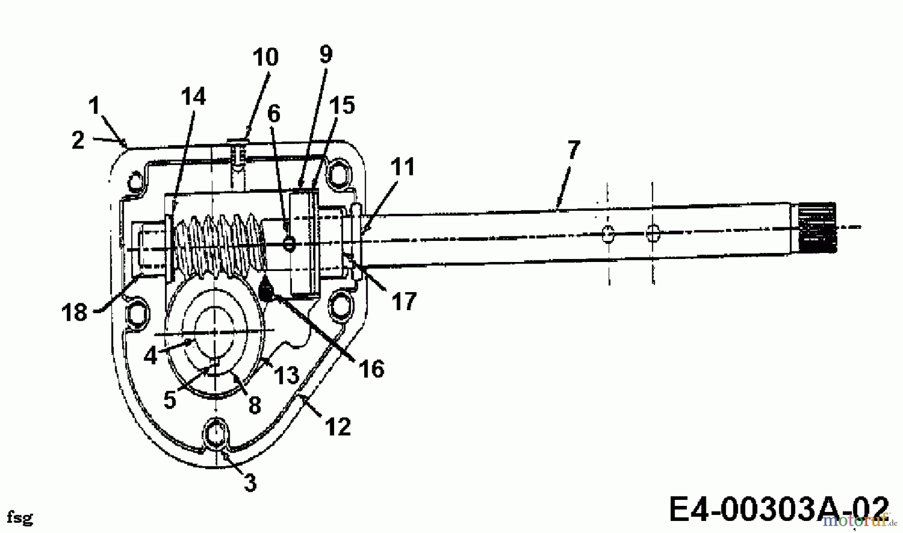
Hier finden Sie die Ersatzteilzeichnung für Yard-Man Schneefräsen E 7 E 3 F 31AE7E3F643 (1999) Getriebe. Wählen Sie das benötigte Ersatzteil aus der Ersatzteilliste Ihres Yard-Man Gerätes aus und bestellen Sie einfach online. Viele Yard-Man Ersatzteile halten wir ständig in unserem Lager für Sie bereit.






