Yard-Man YM 6021 E 12AE389E643 (1998) Getriebe Ersatzteile
Getriebe 12AE389E643 (1998)

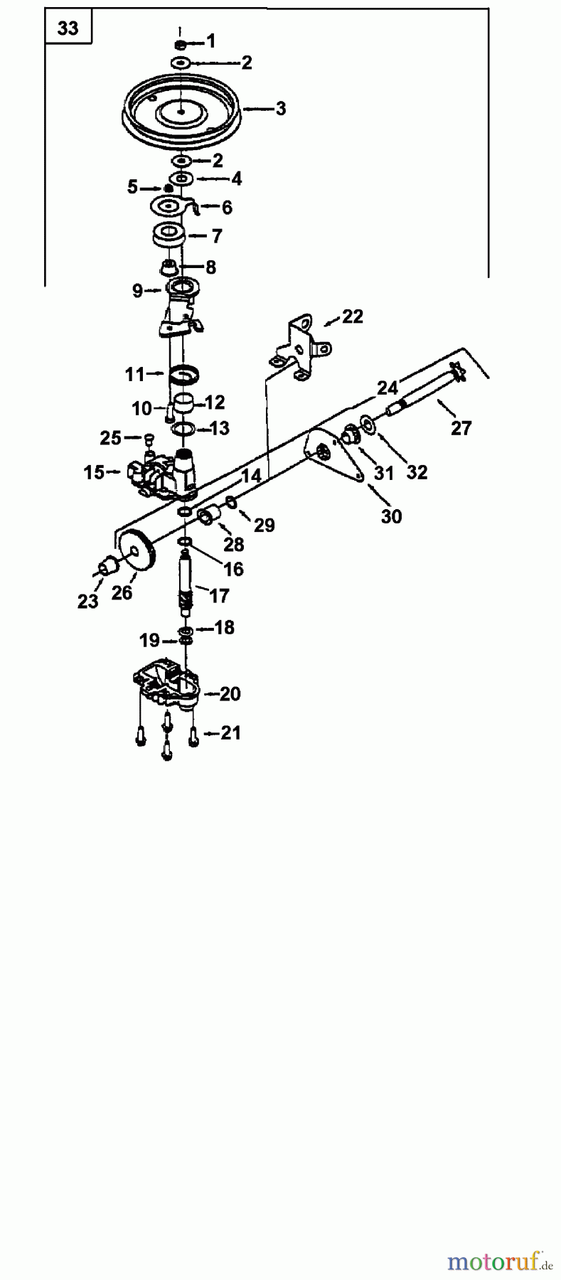
Hier finden Sie die Ersatzteilzeichnung für Yard-Man Motormäher mit Antrieb YM 6021 E 12AE389E643 (1998) Getriebe. Wählen Sie das benötigte Ersatzteil aus der Ersatzteilliste Ihres Yard-Man Gerätes aus und bestellen Sie einfach online. Viele Yard-Man Ersatzteile halten wir ständig in unserem Lager für Sie bereit.


Qualitätsmanagement
Informieren Sie uns, wenn Sie einen Fehler gefunden haben.









