MTD 165/107 13AN662G729 (2004) Batterie Ersatzteile
Batterie 13AN662G729 (2004)

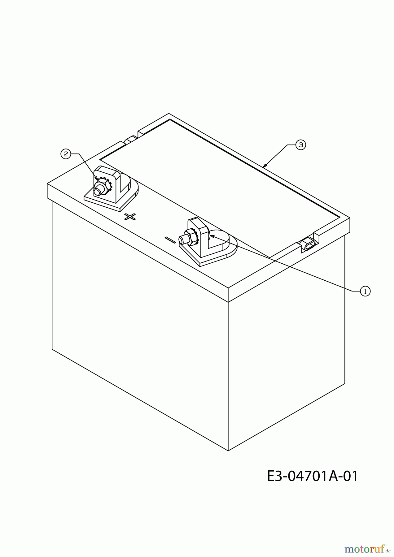
Hier finden Sie die Ersatzteilzeichnung für MTD Rasentraktoren 165/107 13AN662G729 (2004) Batterie. Wählen Sie das benötigte Ersatzteil aus der Ersatzteilliste Ihres MTD Gerätes aus und bestellen Sie einfach online. Viele MTD Ersatzteile halten wir ständig in unserem Lager für Sie bereit.
| BildNr | Artikel Nummer | Bezeichnung | |
| 1 | ![]() | 710-3015 | 6KT-SCHR:1/4-20:.75:GR5:STD |
| 2 | ![]() | 712-0271 | 6KT-MUTTER 1/4-20"+ZAHNSCHEIBE |
| 3 | ![]() | 725-2057A | BATTERIE 12V 24AH 210X125X185 |






