MTD 220 E 24A-721M678 (1998) Ersatzteile
24A-721M678 (1998) 220 E

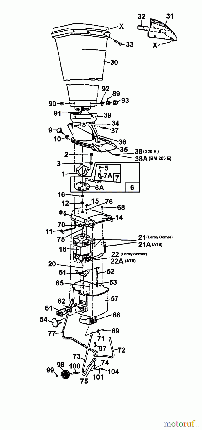
Hier finden Sie die Ersatzteilzeichnung für MTD Häcksler 220 E 24A-721M678 (1998) Grundgerät. Wählen Sie das benötigte Ersatzteil aus der Ersatzteilliste Ihres MTD Gerätes aus und bestellen Sie einfach online. Viele MTD Ersatzteile halten wir ständig in unserem Lager für Sie bereit.






