MTD G 200 14AQ808H678 (2003) Messerspindel 618-0595 Ersatzteile
Messerspindel 618-0595 14AQ808H678 (2003)

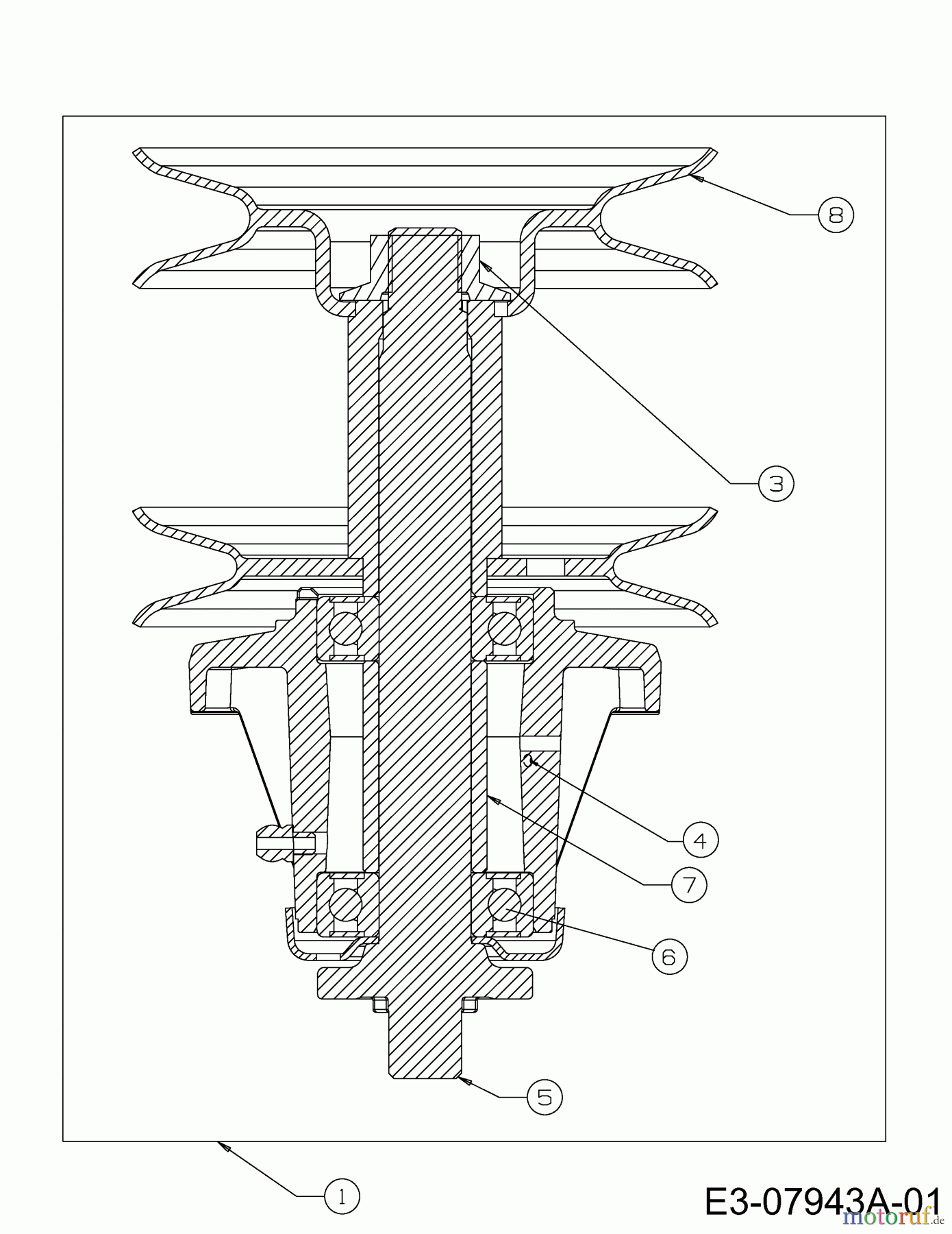
Hier finden Sie die Ersatzteilzeichnung für MTD Gartentraktoren G 200 14AQ808H678 (2003) Messerspindel 618-0595. Wählen Sie das benötigte Ersatzteil aus der Ersatzteilliste Ihres MTD Gerätes aus und bestellen Sie einfach online. Viele MTD Ersatzteile halten wir ständig in unserem Lager für Sie bereit.


Qualitätsmanagement
Informieren Sie uns, wenn Sie einen Fehler gefunden haben.





