MTD Li-Ion Power 34 18AWF3B-600 (2013) Grasfangsack Ersatzteile
Grasfangsack 18AWF3B-600 (2013)

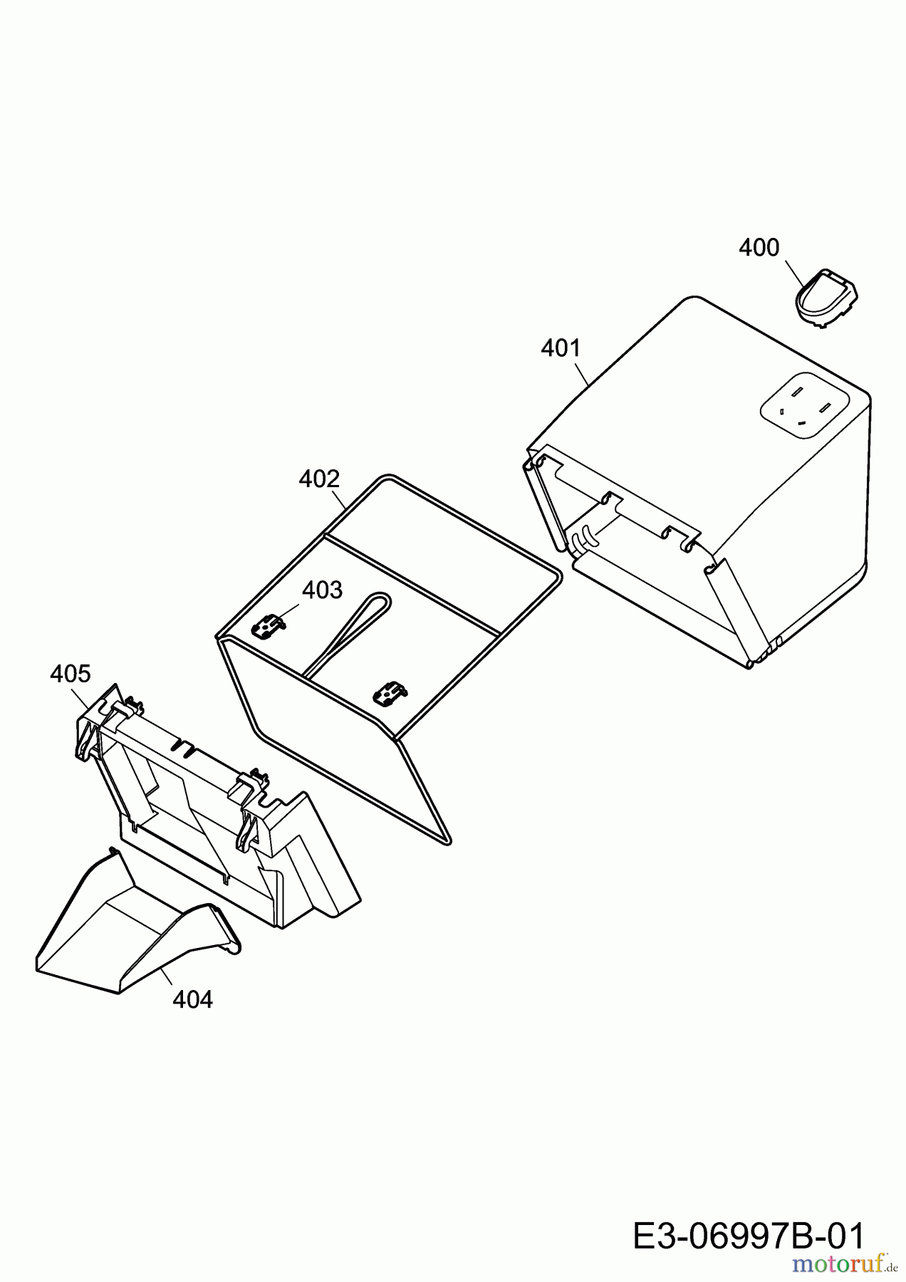
Hier finden Sie die Ersatzteilzeichnung für MTD Akkumäher Li-Ion Power 34 18AWF3B-600 (2013) Grasfangsack. Wählen Sie das benötigte Ersatzteil aus der Ersatzteilliste Ihres MTD Gerätes aus und bestellen Sie einfach online. Viele MTD Ersatzteile halten wir ständig in unserem Lager für Sie bereit.
| BildNr | Artikel Nummer | Bezeichnung | |
| 400 | 4880061 | FUELLSTANDSANZEIGE KPL (RAL 30 | |
| 401 | 4919337 | Fangsacktuch 34er mit Rastpl. | |
| 402 | 4904035 | Fangsackgestell kpl.-geschweiß | |
| 403 | 4921309 | Sicherungsriegel schwarz | |
| 404 | 4919327 | Schütte 34E schwarz RAL 9005 | |
| 405 | 4919326 | Mundstück 34er schwarz | |


Qualitätsmanagement
Informieren Sie uns, wenn Sie einen Fehler gefunden haben.

