Wolf-Garten Expert UV 40 B 16AG8D0F650 (2012) Keilriemen, Messerwalze, Motor Ersatzteile
Keilriemen, Messerwalze, Motor 16AG8D0F650 (2012)

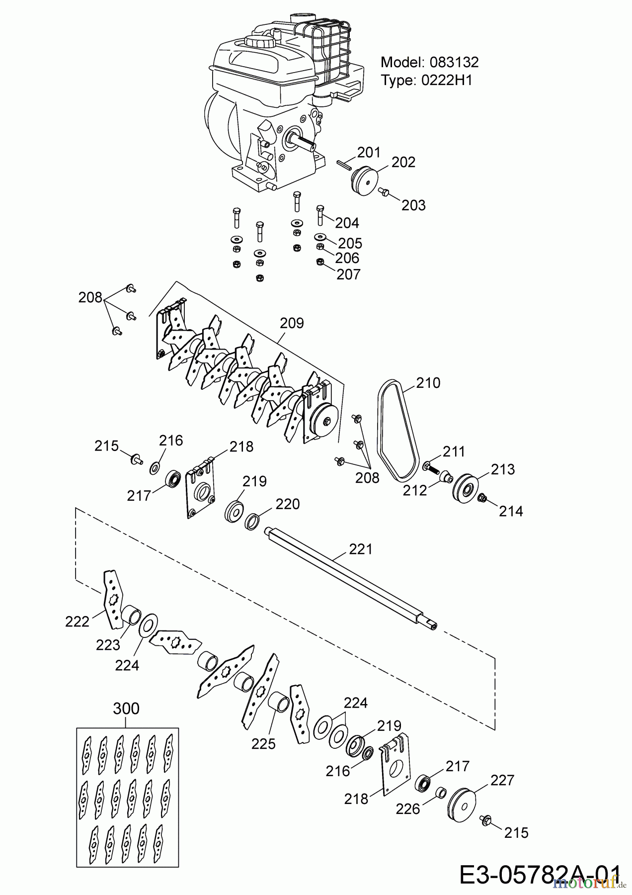
Hier finden Sie die Ersatzteilzeichnung für Wolf-Garten Motorvertikutierer Expert UV 40 B 16AG8D0F650 (2012) Keilriemen, Messerwalze, Motor. Wählen Sie das benötigte Ersatzteil aus der Ersatzteilliste Ihres Wolf-Garten Gerätes aus und bestellen Sie einfach online. Viele Wolf-Garten Ersatzteile halten wir ständig in unserem Lager für Sie bereit.


Qualitätsmanagement
Informieren Sie uns, wenn Sie einen Fehler gefunden haben.



