Wolf-Garten UV 35 B 3635000 Serie G (2010) Keilriemen, Messerwalze, Motor Ersatzteile
Keilriemen, Messerwalze, Motor 3635000 Serie G (2010)

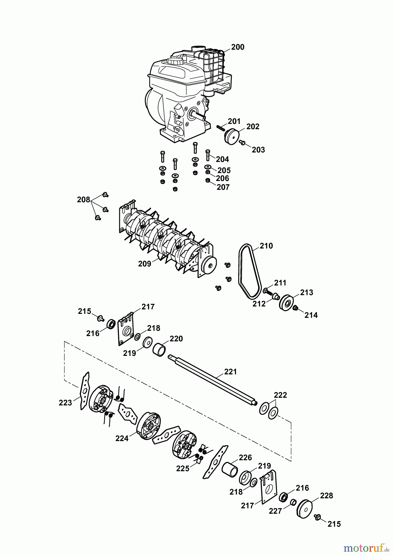
Hier finden Sie die Ersatzteilzeichnung für Wolf-Garten Motorvertikutierer UV 35 B 3635000 Serie G (2010) Keilriemen, Messerwalze, Motor. Wählen Sie das benötigte Ersatzteil aus der Ersatzteilliste Ihres Wolf-Garten Gerätes aus und bestellen Sie einfach online. Viele Wolf-Garten Ersatzteile halten wir ständig in unserem Lager für Sie bereit.


Qualitätsmanagement
Informieren Sie uns, wenn Sie einen Fehler gefunden haben.





