Wolf-Garten 5 P 70 MH 752Z5P70MH (2009) Luftfilter, Vergaser Ersatzteile
Luftfilter, Vergaser 752Z5P70MH (2009)

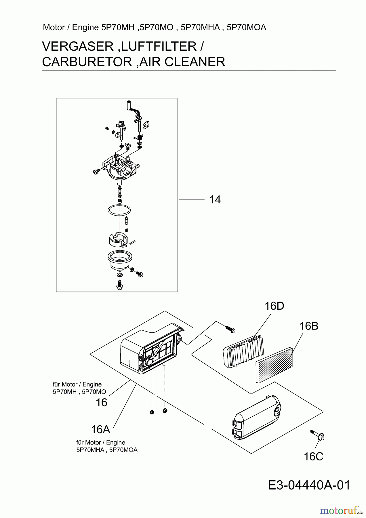
Hier finden Sie die Ersatzteilzeichnung für Wolf-Garten Benzinmotoren MTD 5 P 70 MH 752Z5P70MH (2009) Luftfilter, Vergaser. Wählen Sie das benötigte Ersatzteil aus der Ersatzteilliste Ihres Wolf-Garten Gerätes aus und bestellen Sie einfach online. Viele Wolf-Garten Ersatzteile halten wir ständig in unserem Lager für Sie bereit.
| BildNr | Artikel Nummer | Bezeichnung | |
| 14 | ![]() | 751-10765 | VERGASER VOLLST. |
| 16 | 751-10405 | LUFTFILTERGEHÄUSE VOLLST. | |
| 16A | 751-10412A | LUFTFILTERGEHÄUSE | |
| 16B | 092.49.454 | SCHAUMSTOFFELEMENT | |
| 16C | ![]() | 751-10297 | LUFTFILTER SCHRAUBE * |
| 16D | ![]() | 092.49.465 | LUFTFILTERELEM.1P60FA/5P70MH |


Qualitätsmanagement
Informieren Sie uns, wenn Sie einen Fehler gefunden haben.




