Wolf-Garten FC 180 V 2096080 (1999) Schwungrad, Zündspule Ersatzteile
Schwungrad, Zündspule 2096080 (1999)

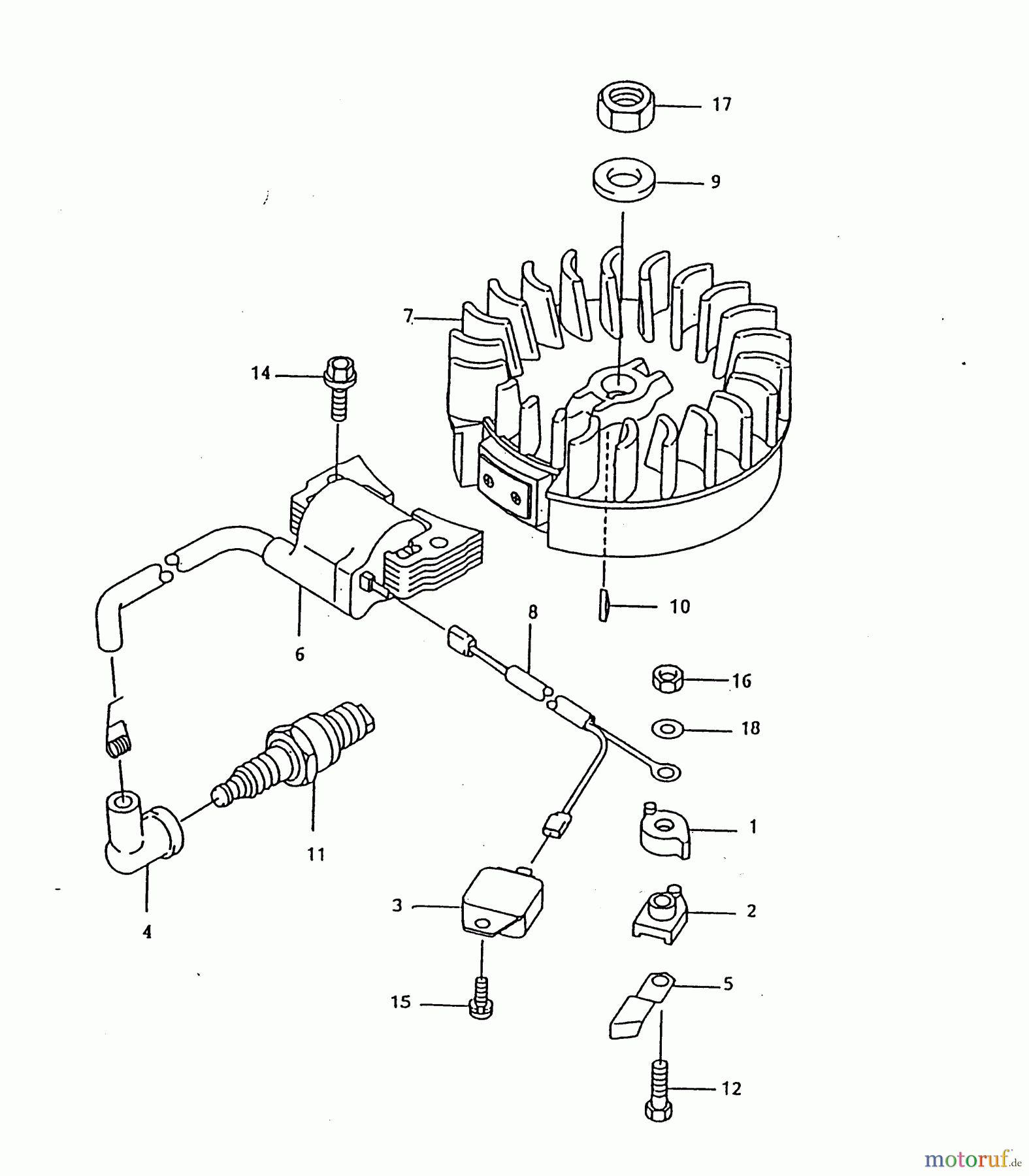
Hier finden Sie die Ersatzteilzeichnung für Wolf-Garten Benzinmotoren Kawasaki FC 180 V 2096080 (1999) Schwungrad, Zündspule. Wählen Sie das benötigte Ersatzteil aus der Ersatzteilliste Ihres Wolf-Garten Gerätes aus und bestellen Sie einfach online. Viele Wolf-Garten Ersatzteile halten wir ständig in unserem Lager für Sie bereit.


Qualitätsmanagement
Informieren Sie uns, wenn Sie einen Fehler gefunden haben.

