Wolf-Garten GCV 160 2098000-160 (2004) Kolben, Pleuel Ersatzteile
Kolben, Pleuel 2098000-160 (2004)

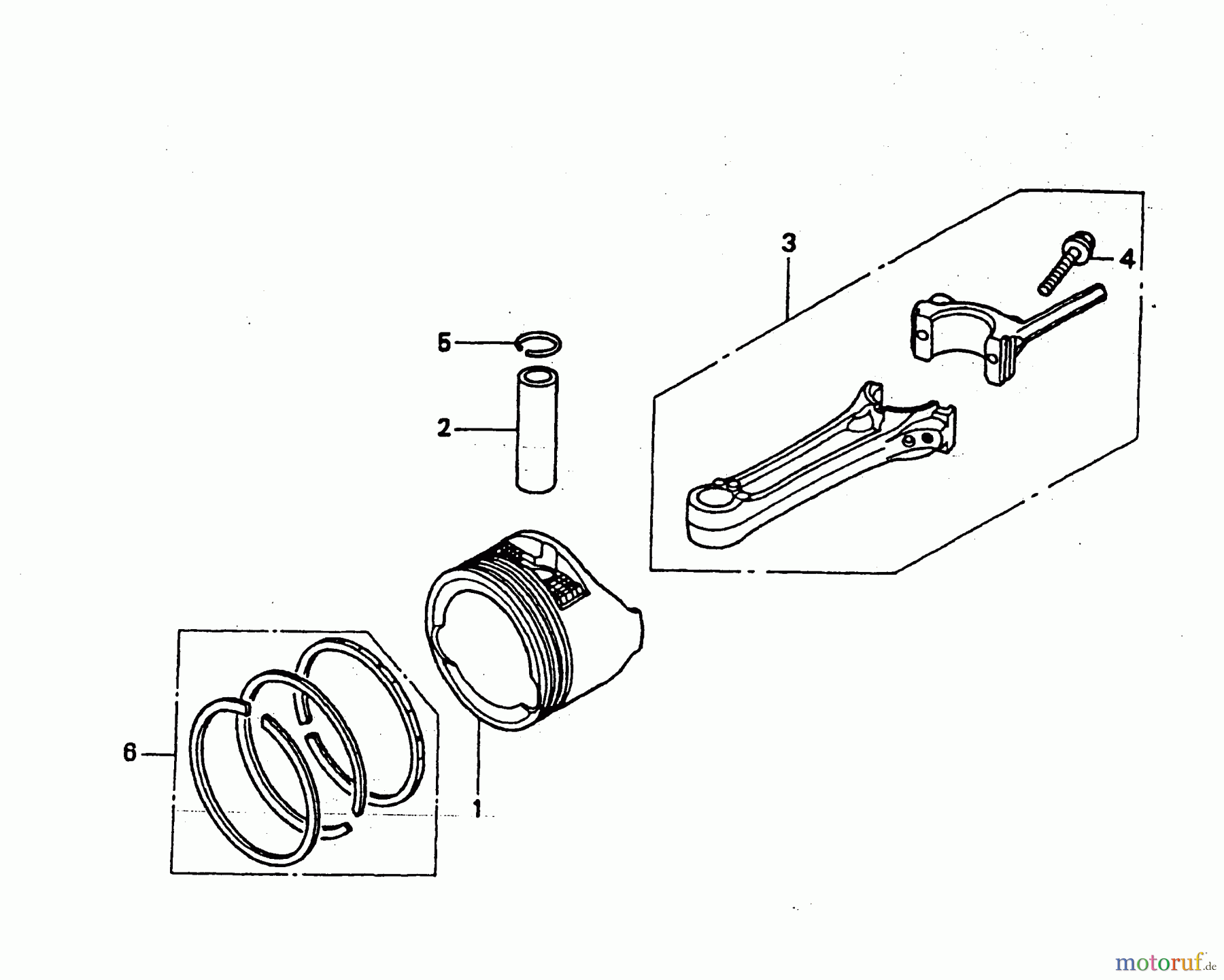
Hier finden Sie die Ersatzteilzeichnung für Wolf-Garten Benzinmotoren Honda GCV 160 2098000-160 (2004) Kolben, Pleuel. Wählen Sie das benötigte Ersatzteil aus der Ersatzteilliste Ihres Wolf-Garten Gerätes aus und bestellen Sie einfach online. Viele Wolf-Garten Ersatzteile halten wir ständig in unserem Lager für Sie bereit.
| BildNr | Artikel Nummer | Bezeichnung | |
| 1 | 2098401 | Kolben | |
| 2 | 2098425 | Stift | |
| 3 | 2098013 | Pleuelstange | |
| 4 | 2098100 | SCHRAUBE H2 90001-ZE1-000 | |
| 5 | 2098116 | Wellensicherung | |



