Wolf-Garten Quantum 50625 2069075 (2008) Kurbelwelle, Nockenwelle, Ölwanne Ersatzteile
Kurbelwelle, Nockenwelle, Ölwanne 2069075 (2008)

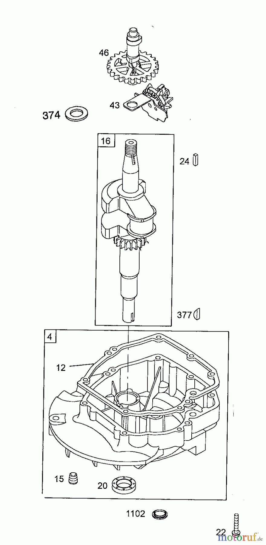
Hier finden Sie die Ersatzteilzeichnung für Wolf-Garten Benzinmotoren Briggs&Stratton Quantum 50625 2069075 (2008) Kurbelwelle, Nockenwelle, Ölwanne. Wählen Sie das benötigte Ersatzteil aus der Ersatzteilliste Ihres Wolf-Garten Gerätes aus und bestellen Sie einfach online. Viele Wolf-Garten Ersatzteile halten wir ständig in unserem Lager für Sie bereit.
| BildNr | Artikel Nummer | Bezeichnung | |
| 4 | 2063111 | OELWANNE G2 493 279 | |
| 12 | 2069333 | Dichtung G2 692232 | |
| 15 | 2069415 | Ölablassschraube G2 691680 | |
| 16 | 2056187 | KURBELWELLE G2 691452 | |
| 20 | 2063112 | RING-SIMM. G2 399781S | |
| 22 | 2069406 | Schraube | |
| 24 | 2057130 | EINLEGEKEIL G2 222698S | |
| 43 | 2069433 | Regler | |
| 46 | 2058230 | Nockenwelle | |
| 374 | 2057168 | Scheibe G2 691074 | |
| 377 | 2058231 | Keil | |
| 1102 | 2058232 | Ring | |


Qualitätsmanagement
Informieren Sie uns, wenn Sie einen Fehler gefunden haben.

