Wolf-Garten 42-PRO (Moto-Verte) 6060000 Serie A (1999) Ersatzteile
6060000 Serie A (1999) 42-PRO (Moto-Verte)

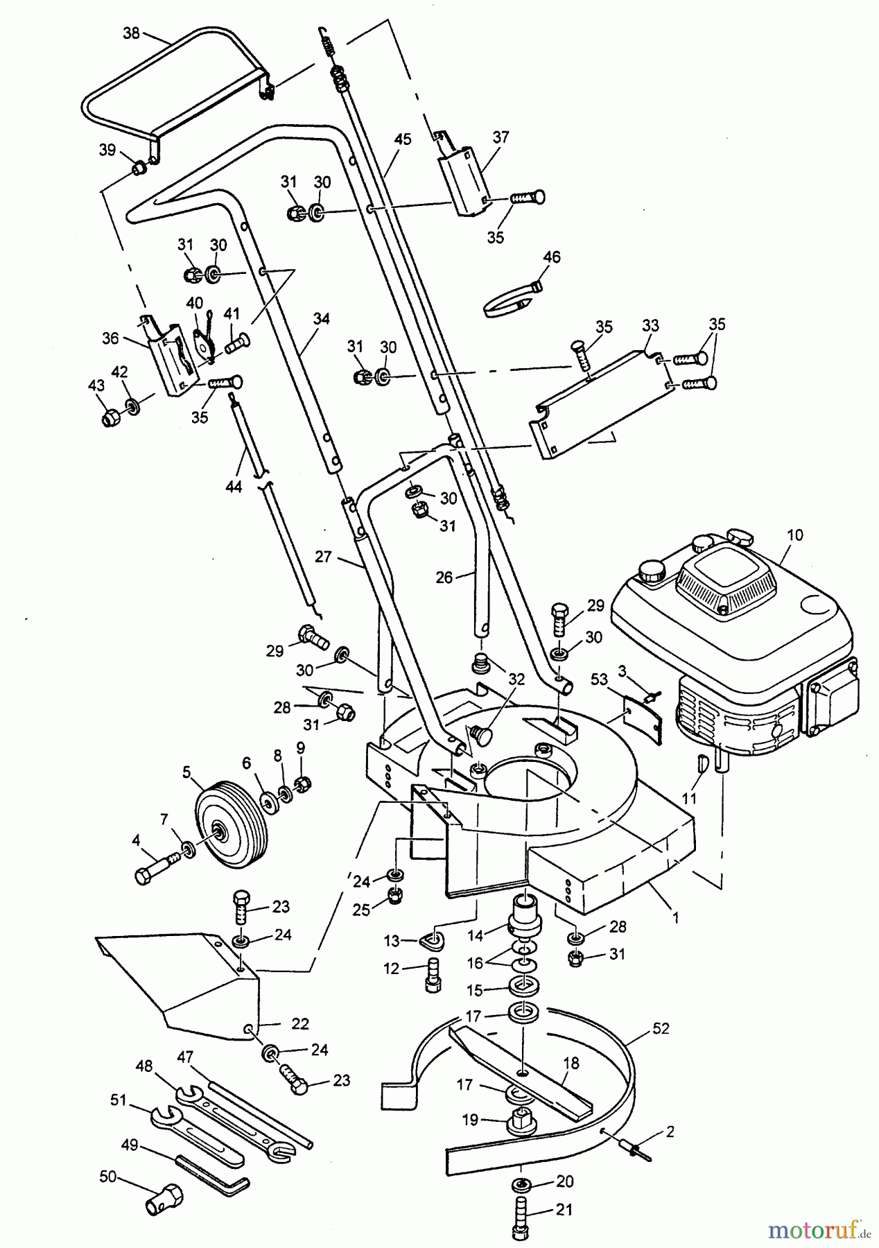
Hier finden Sie die Ersatzteilzeichnung für Wolf-Garten Motormäher 42-PRO (Moto-Verte) 6060000 Serie A (1999) Grundgerät. Wählen Sie das benötigte Ersatzteil aus der Ersatzteilliste Ihres Wolf-Garten Gerätes aus und bestellen Sie einfach online. Viele Wolf-Garten Ersatzteile halten wir ständig in unserem Lager für Sie bereit.


Qualitätsmanagement
Informieren Sie uns, wenn Sie einen Fehler gefunden haben.

