Wolf-Garten Premio 40 BA 4015000 Serie A (2001) Messer, Messeraufnahme, Motor Ersatzteile
Messer, Messeraufnahme, Motor 4015000 Serie A (2001)

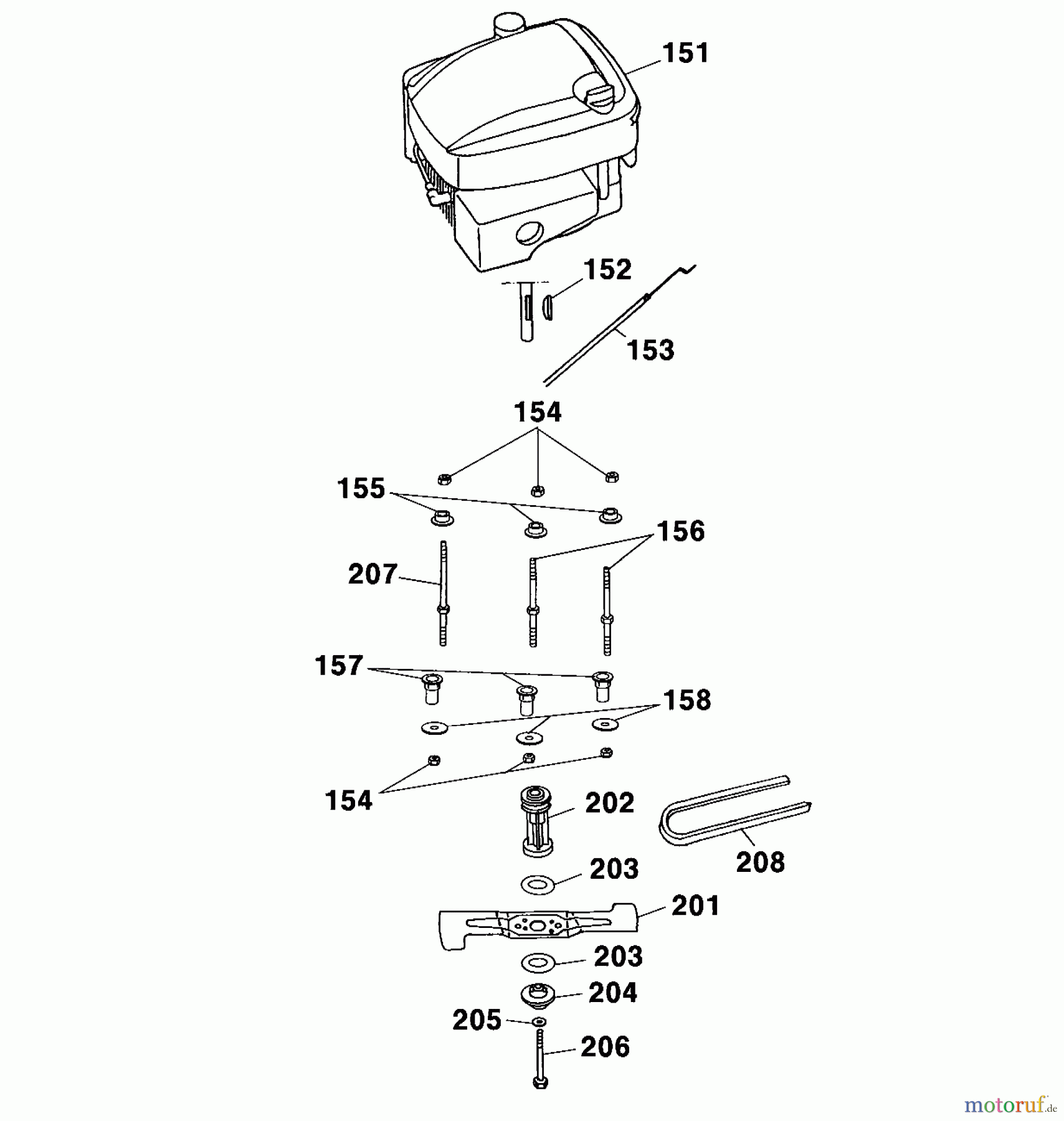
Hier finden Sie die Ersatzteilzeichnung für Wolf-Garten Motormäher mit Antrieb Premio 40 BA 4015000 Serie A (2001) Messer, Messeraufnahme, Motor. Wählen Sie das benötigte Ersatzteil aus der Ersatzteilliste Ihres Wolf-Garten Gerätes aus und bestellen Sie einfach online. Viele Wolf-Garten Ersatzteile halten wir ständig in unserem Lager für Sie bereit.




