Wolf-Garten Ambition 40 E 4969680 (2012) Elektromotor, Messer Ersatzteile
Elektromotor, Messer 4969680 (2012)

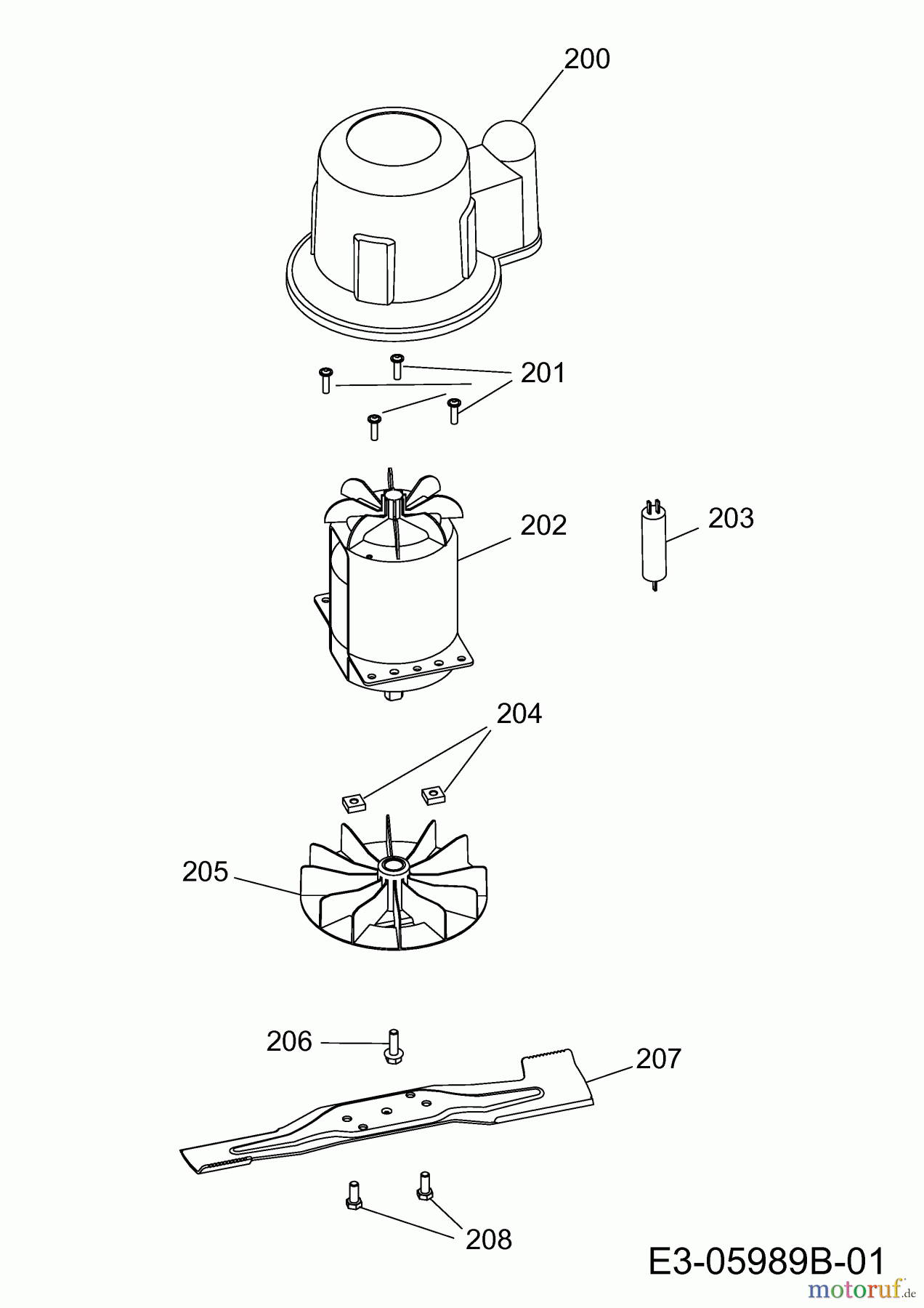
Hier finden Sie die Ersatzteilzeichnung für Wolf-Garten Elektromäher Ambition 40 E 4969680 (2012) Elektromotor, Messer. Wählen Sie das benötigte Ersatzteil aus der Ersatzteilliste Ihres Wolf-Garten Gerätes aus und bestellen Sie einfach online. Viele Wolf-Garten Ersatzteile halten wir ständig in unserem Lager für Sie bereit.
Häufig benötigte Wolf-Garten Ambition 40 E 4969680 (2012) Elektromotor, Messer Ersatzteile

Artikelnummer: WL4970096
Suche nach: 4970096
Hersteller: Wolf
Wolf-Garten Ersatzteil Elektromotor, Messer
Suche nach: 4970096
Hersteller: Wolf
Wolf-Garten Ersatzteil Elektromotor, Messer
37.02 €
für EU incl. MwSt., zzgl. Versand


Qualitätsmanagement
Informieren Sie uns, wenn Sie einen Fehler gefunden haben.

