Wolf-Garten 1.34 XC 4909088 Serie A (2008) Grasfangsack Ersatzteile
Grasfangsack 4909088 Serie A (2008)

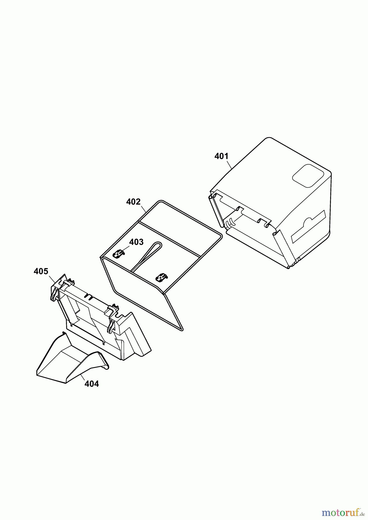
Hier finden Sie die Ersatzteilzeichnung für Wolf-Garten Elektromäher 1.34 XC 4909088 Serie A (2008) Grasfangsack. Wählen Sie das benötigte Ersatzteil aus der Ersatzteilliste Ihres Wolf-Garten Gerätes aus und bestellen Sie einfach online. Viele Wolf-Garten Ersatzteile halten wir ständig in unserem Lager für Sie bereit.
| BildNr | Artikel Nummer | Bezeichnung | |
| 401 | 4909337 | Fangsacktuch 2.34E rot RAL3000 | |
| 402 | 4904034 | Fangsackgestell kpl.-lackiert | |
| 403 | ![]() | 4620309 | Sicherungsriegel rot (RAL3000) |
| 404 | 4904312 | Schütte 34E | |
| 405 | 4904310 | Mundstück 34er rot (RAL3000) | |
| 406 | 4909031 | Fangsack 34er kpl. (ohne Fülls | |




