Wolf-Garten Premio 46 E 4628000 Serie B, C (2003) Abdeckhaube Motor, Messer, Motor Ersatzteile
Abdeckhaube Motor, Messer, Motor 4628000 Serie B, C (2003)

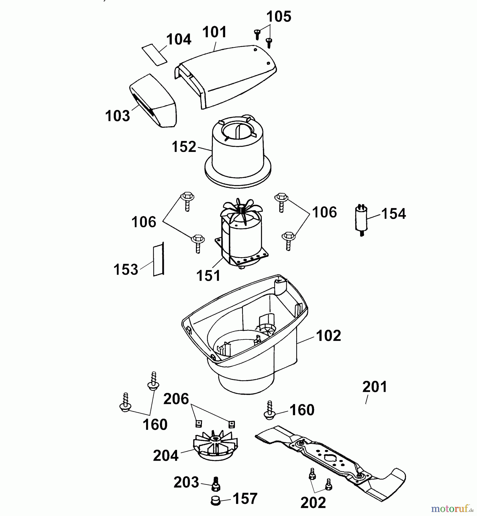
Hier finden Sie die Ersatzteilzeichnung für Wolf-Garten Elektromäher Premio 46 E 4628000 Serie B, C (2003) Abdeckhaube Motor, Messer, Motor. Wählen Sie das benötigte Ersatzteil aus der Ersatzteilliste Ihres Wolf-Garten Gerätes aus und bestellen Sie einfach online. Viele Wolf-Garten Ersatzteile halten wir ständig in unserem Lager für Sie bereit.
Häufig benötigte Wolf-Garten Premio 46 E 4628000 Serie B, C (2003) Abdeckhaube Motor, Messer, Motor Ersatzteile

Artikelnummer: WL4350040
Suche nach: 4350040
Hersteller: Wolf
Wolf-Garten Ersatzteil Abdeckhaube Motor, Messer, Motor
Suche nach: 4350040
Hersteller: Wolf
Wolf-Garten Ersatzteil Abdeckhaube Motor, Messer, Motor
22.46 €
für EU incl. MwSt., zzgl. Versand


Qualitätsmanagement
Informieren Sie uns, wenn Sie einen Fehler gefunden haben.

