Wolf-Garten Power 1500 4927008 Serie D (2009) Elektromotor, Messer Ersatzteile
Elektromotor, Messer 4927008 Serie D (2009)

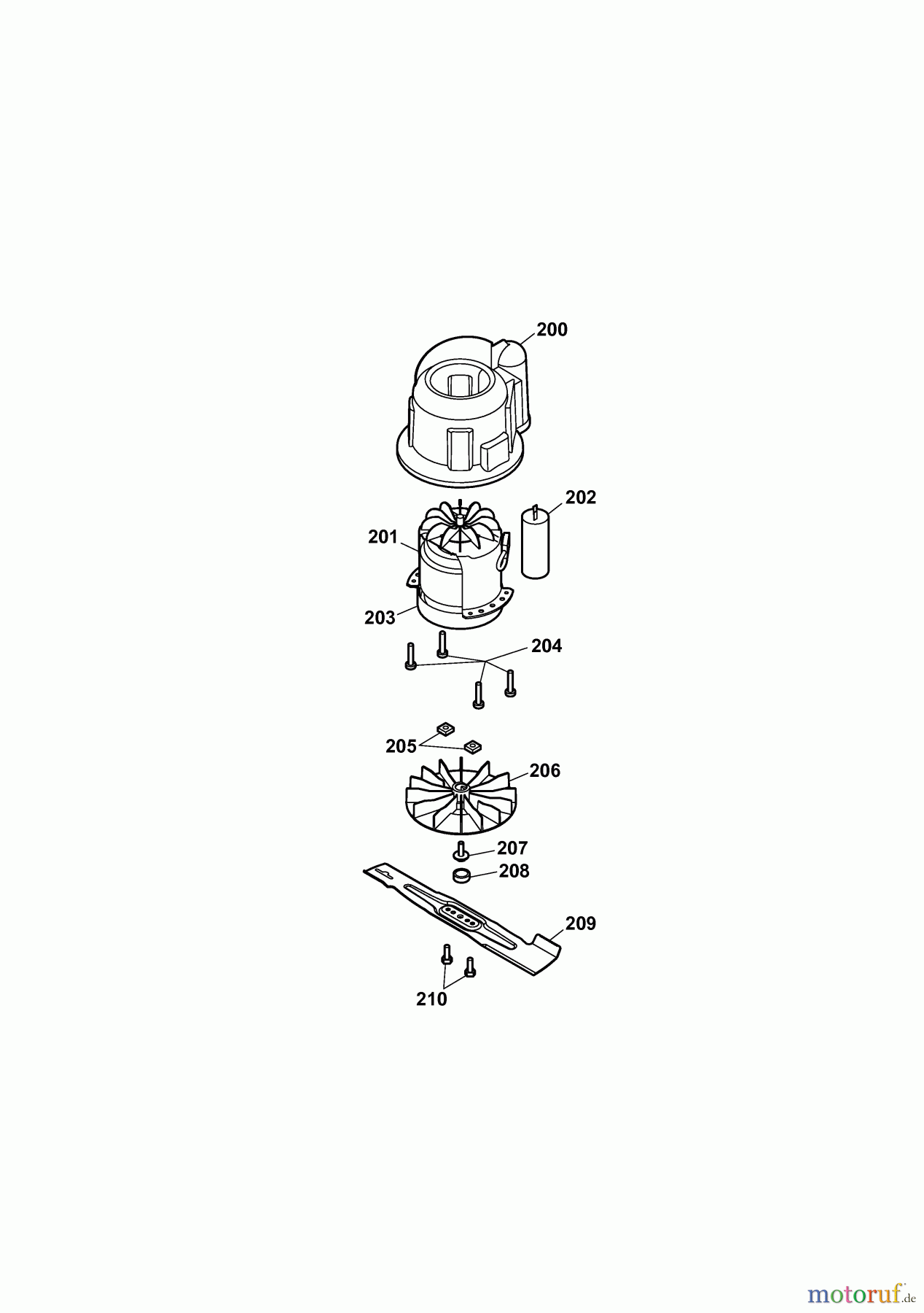
Hier finden Sie die Ersatzteilzeichnung für Wolf-Garten Elektromäher Power 1500 4927008 Serie D (2009) Elektromotor, Messer. Wählen Sie das benötigte Ersatzteil aus der Ersatzteilliste Ihres Wolf-Garten Gerätes aus und bestellen Sie einfach online. Viele Wolf-Garten Ersatzteile halten wir ständig in unserem Lager für Sie bereit.




