Wolf-Garten P 32 E 9 4901001 Serie G, H (2005) Mähwerksgehäuse Ersatzteile
Mähwerksgehäuse 4901001 Serie G, H (2005)

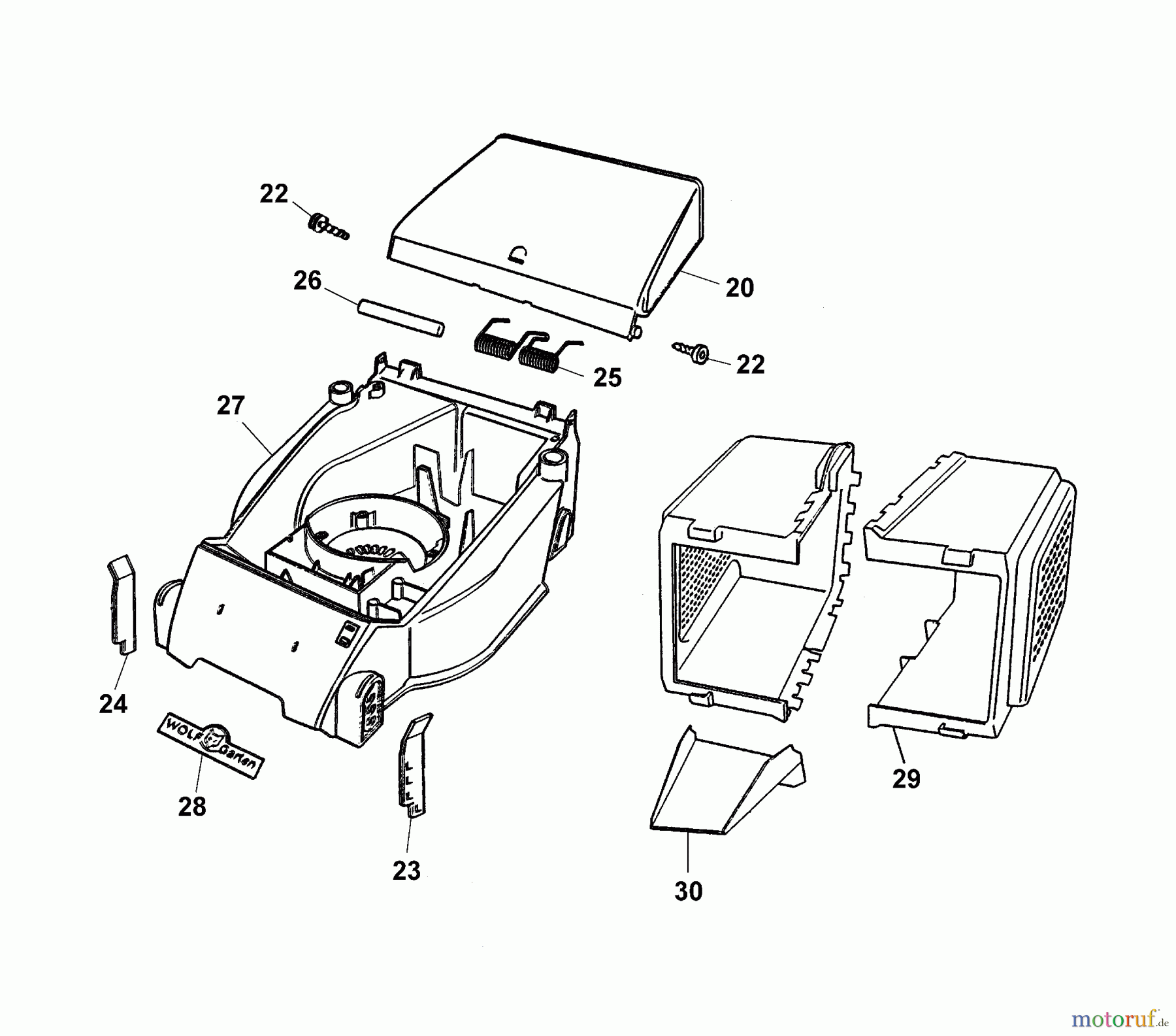
Hier finden Sie die Ersatzteilzeichnung für Wolf-Garten Elektromäher P 32 E 9 4901001 Serie G, H (2005) Mähwerksgehäuse. Wählen Sie das benötigte Ersatzteil aus der Ersatzteilliste Ihres Wolf-Garten Gerätes aus und bestellen Sie einfach online. Viele Wolf-Garten Ersatzteile halten wir ständig in unserem Lager für Sie bereit.
| BildNr | Artikel Nummer | Bezeichnung | |
| 20 | 4901302 | SCHUTZKLAPPE GELB | |
| 22 | 0012622 | PT-SCHR.KA50X10-WN1411-KREUZSC | |
| 23 | ![]() | 4901309 | RIEGEL LINKS |
| 24 | ![]() | 4901308 | RIEGEL RECHTS |
| 25 | 4901100 | SCHENKELFEDER-DOPPEL | |
| 26 | 4901208 | RUNDSTAB 8D | |
| 27 | 4901300 | CHASSIS PICCO 32E | |
| 28 | 0051115 | WOLF-GARTEN-MARKE (103MM) | |
| 29 | 4901303 | FANGKORBHAELFTE | |
| 30 | 4901307 | SCHUETTE | |


Qualitätsmanagement
Informieren Sie uns, wenn Sie einen Fehler gefunden haben.



