Wolf-Garten 2.40 E 4961685 Serie E (2005) Abdeckhaube Motor, Messer, Motor Ersatzteile
Abdeckhaube Motor, Messer, Motor 4961685 Serie E (2005)

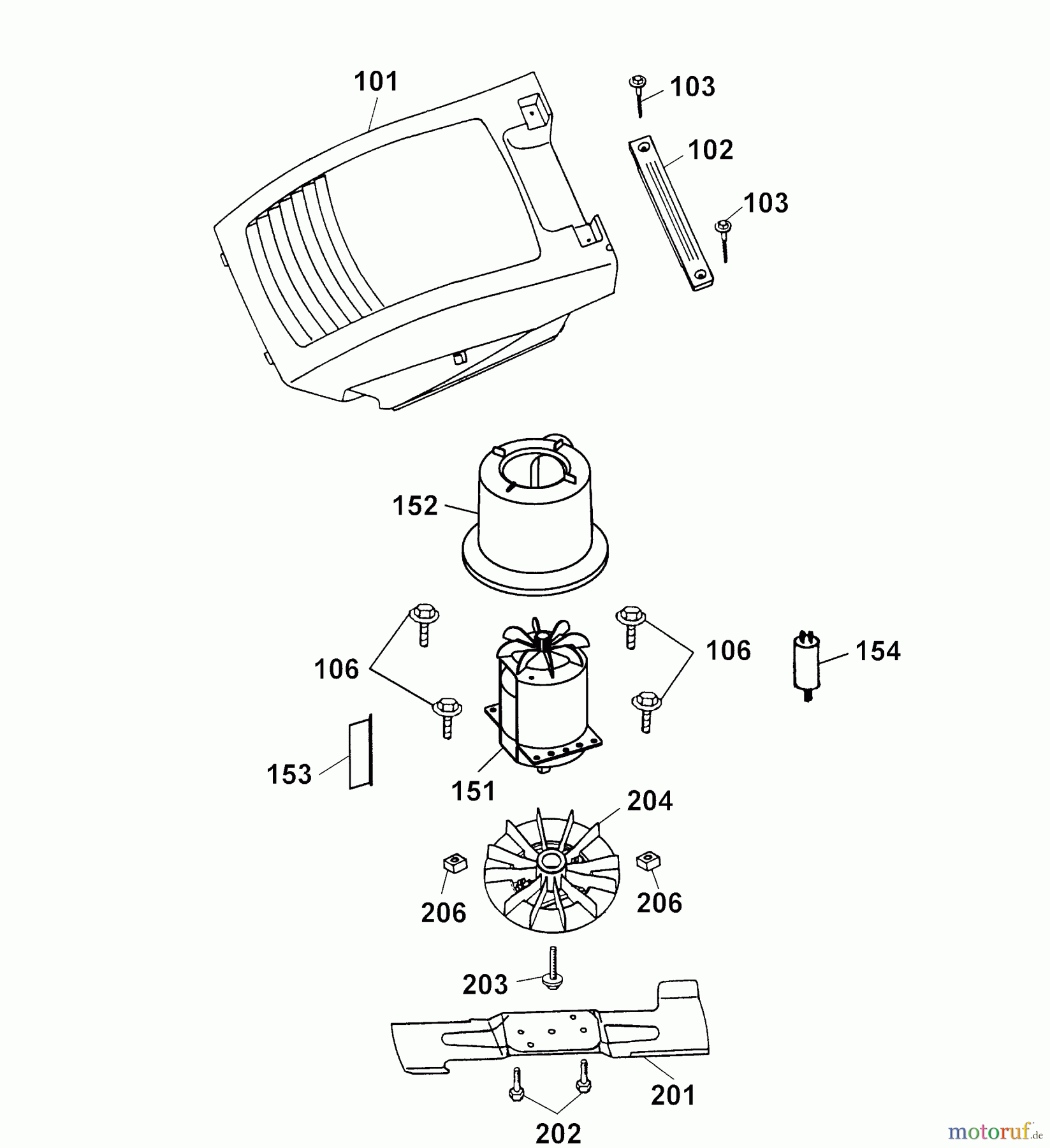
Hier finden Sie die Ersatzteilzeichnung für Wolf-Garten Elektromäher 2.40 E 4961685 Serie E (2005) Abdeckhaube Motor, Messer, Motor. Wählen Sie das benötigte Ersatzteil aus der Ersatzteilliste Ihres Wolf-Garten Gerätes aus und bestellen Sie einfach online. Viele Wolf-Garten Ersatzteile halten wir ständig in unserem Lager für Sie bereit.


Qualitätsmanagement
Informieren Sie uns, wenn Sie einen Fehler gefunden haben.

