Wolf-Garten 2.37 EK 4917004 Serie F (2009) Messer, Messeraufnahme, Motor Ersatzteile
Messer, Messeraufnahme, Motor 4917004 Serie F (2009)

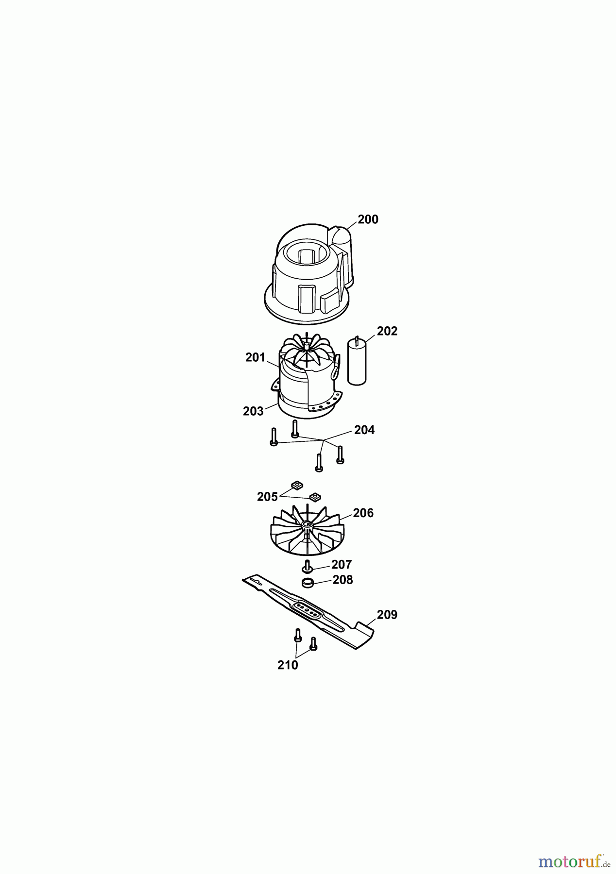
Hier finden Sie die Ersatzteilzeichnung für Wolf-Garten Elektromäher 2.37 EK 4917004 Serie F (2009) Messer, Messeraufnahme, Motor. Wählen Sie das benötigte Ersatzteil aus der Ersatzteilliste Ihres Wolf-Garten Gerätes aus und bestellen Sie einfach online. Viele Wolf-Garten Ersatzteile halten wir ständig in unserem Lager für Sie bereit.


Qualitätsmanagement
Informieren Sie uns, wenn Sie einen Fehler gefunden haben.


