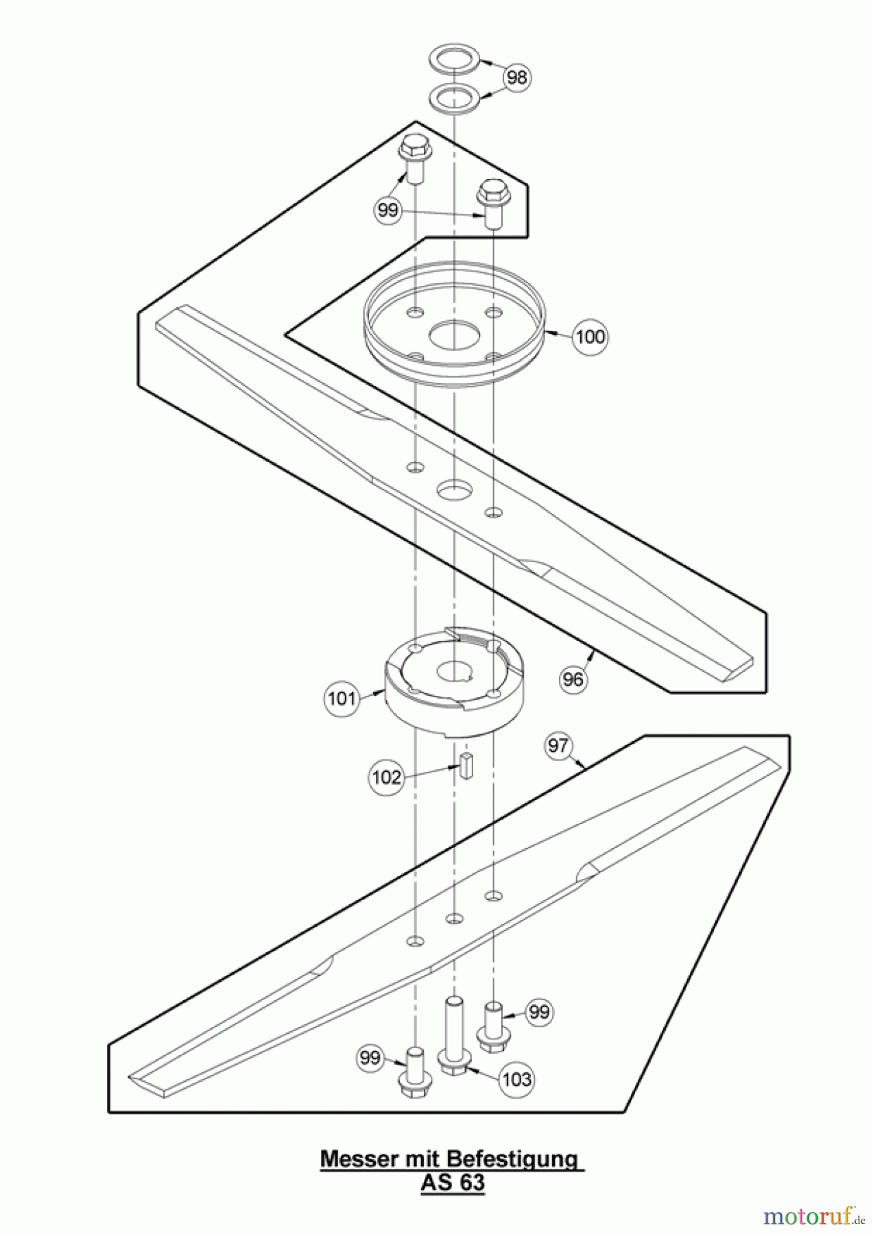
AS-Motor (neu) Hochgras Allmäher AS 62 AS 62 4T B&S ab FNr. 036020110001 Messer mit Befestigung Ersatzteile
Messer mit Befestigung ab FNr. 036020110001

Hier finden Sie die Ersatzteilzeichnung für AS-Motor (neu) Rasen Hochgras Allmäher AS 62 AS 62 4T B&S ab FNr. 036020110001 Messer mit Befestigung. Wählen Sie das benötigte Ersatzteil aus der Ersatzteilliste Ihres AS-Motor (neu) Gerätes aus und bestellen Sie einfach online. Viele AS-Motor (neu) Ersatzteile halten wir ständig in unserem Lager für Sie bereit.
| BildNr | Artikel Nummer | Bezeichnung | |
| 96 | G60080002 | Messerbalken | |
| 97 | G60080001 | Messerbalken | |
| 98 | G07847015 | Stützscheibe | |
| 99 | ![]() | G00009097 | Sicherungsschraube |
| 100 | G60023011 | Wickelschutzbecher | |
| 101 | G60023008 | Messerscheibe | |
| 102 | ![]() | G07865019 | Passfeder |
| 103 | G00009111 | Sicherungsschraube | |


Qualitätsmanagement
Informieren Sie uns, wenn Sie einen Fehler gefunden haben.



