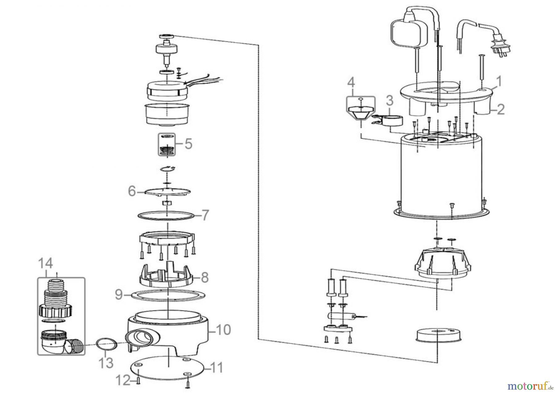
Güde Schmutzwasserpumpen Schmutzwassertauchpumpe GS 7502 PI Art.Nr.: 94641 FSL94641-01 Ersatzteile
FSL94641-01 Schmutzwassertauchpumpe GS 7502 PI Art.Nr.: 94641
Gültig für folgende Seriennummern (ersten 5 Ziffern der Geräteseriennummer)
68911 69336 69450 70730 72532 73933

Hier finden Sie die Ersatzteilzeichnung für Güde Pumpentechnik Tauchpumpen Schmutzwasserpumpen Schmutzwassertauchpumpe GS 7502 PI Art.Nr.: 94641 FSL94641-01 Seite 1. Wählen Sie das benötigte Ersatzteil aus der Ersatzteilliste Ihres Güde Gerätes aus und bestellen Sie einfach online. Viele Güde Ersatzteile halten wir ständig in unserem Lager für Sie bereit.



