Güde Elektrodenschweißen ab 150 A Inverter Schweißgerät GIS 200 Art.Nr.: 20037 FSL20037-05 Ersatzteile
FSL20037-05 Inverter Schweißgerät GIS 200 Art.Nr.: 20037
Gültig für folgende Seriennummern (ersten 5 Ziffern der Geräteseriennummer)
76705

Hier finden Sie die Ersatzteilzeichnung für Güde Schweißtechnik Schweißgeräte Elektrodenschweißen ab 150 A Inverter Schweißgerät GIS 200 Art.Nr.: 20037 FSL20037-05 Seite 2. Wählen Sie das benötigte Ersatzteil aus der Ersatzteilliste Ihres Güde Gerätes aus und bestellen Sie einfach online. Viele Güde Ersatzteile halten wir ständig in unserem Lager für Sie bereit.
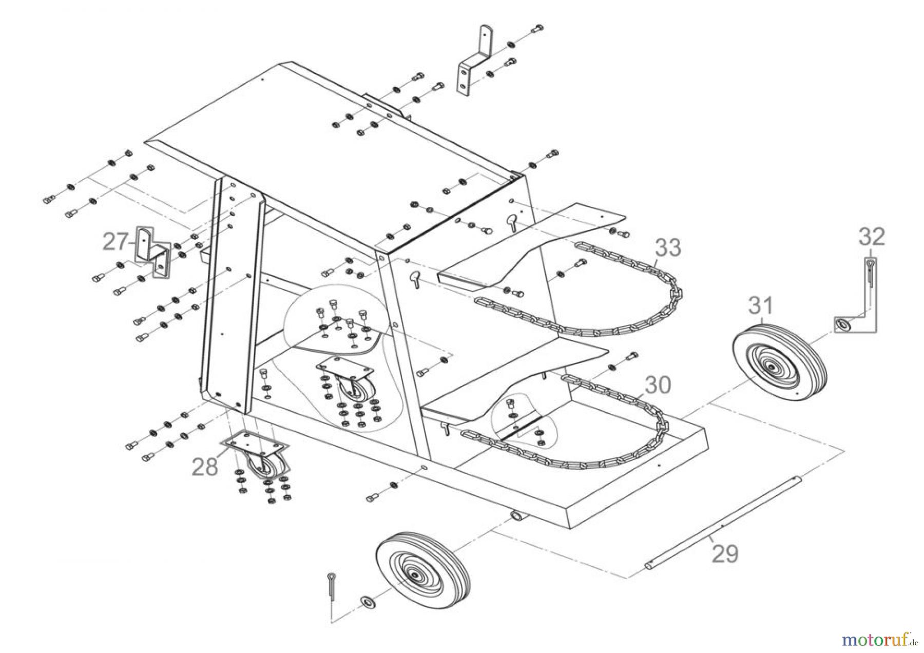
| BildNr | Artikel Nummer | Bezeichnung | |
| 27 | 20037-01027 | Kabelhalter | |
| 28 | 20037-01028 | Bew. Rolle Untergestell | |
| 29 | 20037-01029 | Radachse | |
| 30 | 20037-01030 | Kette | |
| 31 | 94711-01032 | Rad | |
| 32 | 20037-01032 | Radbefestigung | |
| 33 | 20037-01030 | Kette | |
| ohne Abb. | 20037-01038 | Schraubensatz Untergestell | |
| ohne Abb. | 20037-01042 | Untergestell komplett | |



