AS-Motor (neu) Profi-Rasenmäher AS 45 Universal AS 45 B4/4T ab FNr. 01390040400 Grundmotor Ersatzteile
Grundmotor ab FNr. 01390040400

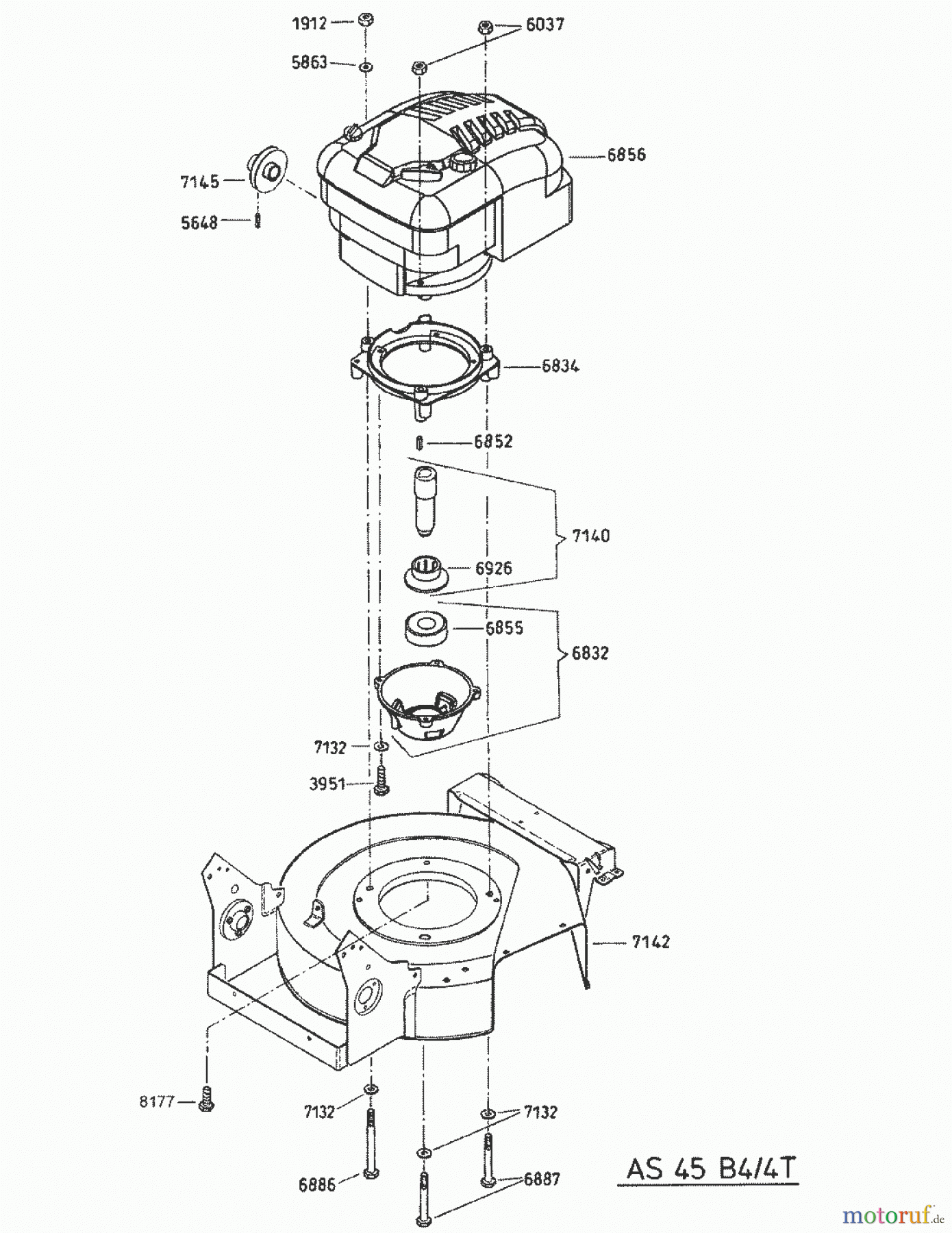
Hier finden Sie die Ersatzteilzeichnung für AS-Motor (neu) Rasen Profi-Rasenmäher AS 45 Universal AS 45 B4/4T ab FNr. 01390040400 Grundmotor. Wählen Sie das benötigte Ersatzteil aus der Ersatzteilliste Ihres AS-Motor (neu) Gerätes aus und bestellen Sie einfach online. Viele AS-Motor (neu) Ersatzteile halten wir ständig in unserem Lager für Sie bereit.
| BildNr | Artikel Nummer | Bezeichnung | |
| 1912 | ![]() | G07846001 | 6kt- Mutter selbstsichernd |
| 3951 | G07838031 | 6kt- Schraube | |
| 5648 | G07853030 | Spannstift | |
| 5863 | ![]() | G00042004 | Sperrkantscheibe |
| 6037 | ![]() | G00007042 | Sperrzahnmutter |
| 6832 | G04312004 | Teil nicht mehr lieferbar. | |
| 6834 | G04312001 | Teil nicht mehr lieferbar | |
| 6852 | G07865013 | Passfeder | |
| 6855 | G07830028 | Rillenkugellager | |
| 6886 | G07837058 | 6kt- Schraube | |
| 6887 | G07837059 | 6kt- Schraube | |
| 6926 | G04323008 | Schleuderscheibe | |
| 7132 | G00042012 | Sperrkantscheibe | |
| 7140 | G04223014 | Messerträger m.Schleudersch. | |
| 7142 | G04220128 | Teil nicht mehr lieferbar. | |
| 7145 | G00525011 | Motorriemenscheibe | |
| 8177 | ![]() | G00009108 | 6kt- Schraube Sperrverzahnung |







