ELU SAWS FRANKREICH TISCH TGS173----E Ersatzteile
TGS173----E FRANKREICH TISCH

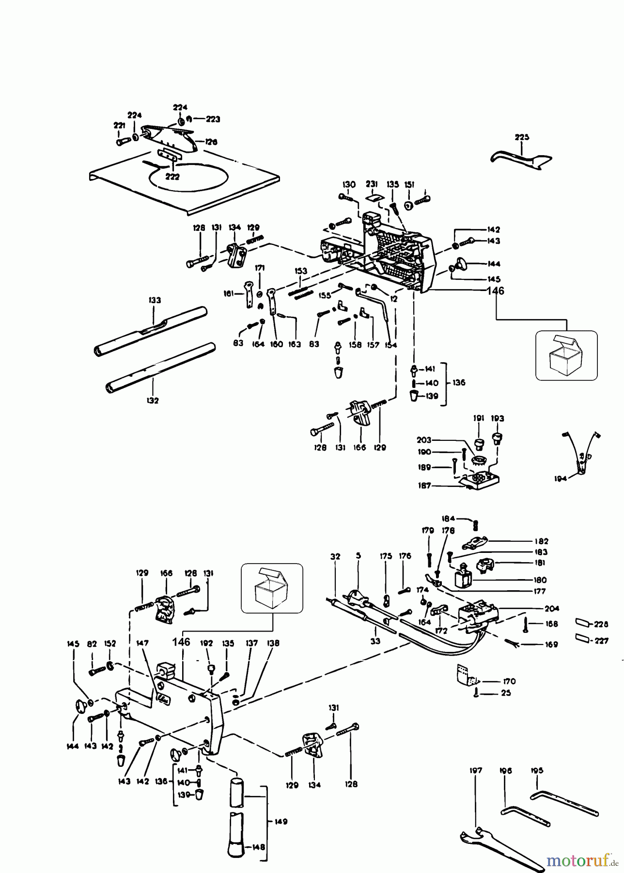
Hier finden Sie die Ersatzteilzeichnung für ELU WOODWORKING SAWS FRANKREICH TISCH TGS173----E Seite 1. Wählen Sie das benötigte Ersatzteil aus der Ersatzteilliste Ihres ELU Gerätes aus und bestellen Sie einfach online. Viele ELU Ersatzteile halten wir ständig in unserem Lager für Sie bereit.


Qualitätsmanagement
Informieren Sie uns, wenn Sie einen Fehler gefunden haben.

