ELU SAWS TISCH TGS170----F Ersatzteile
TGS170----F TISCH

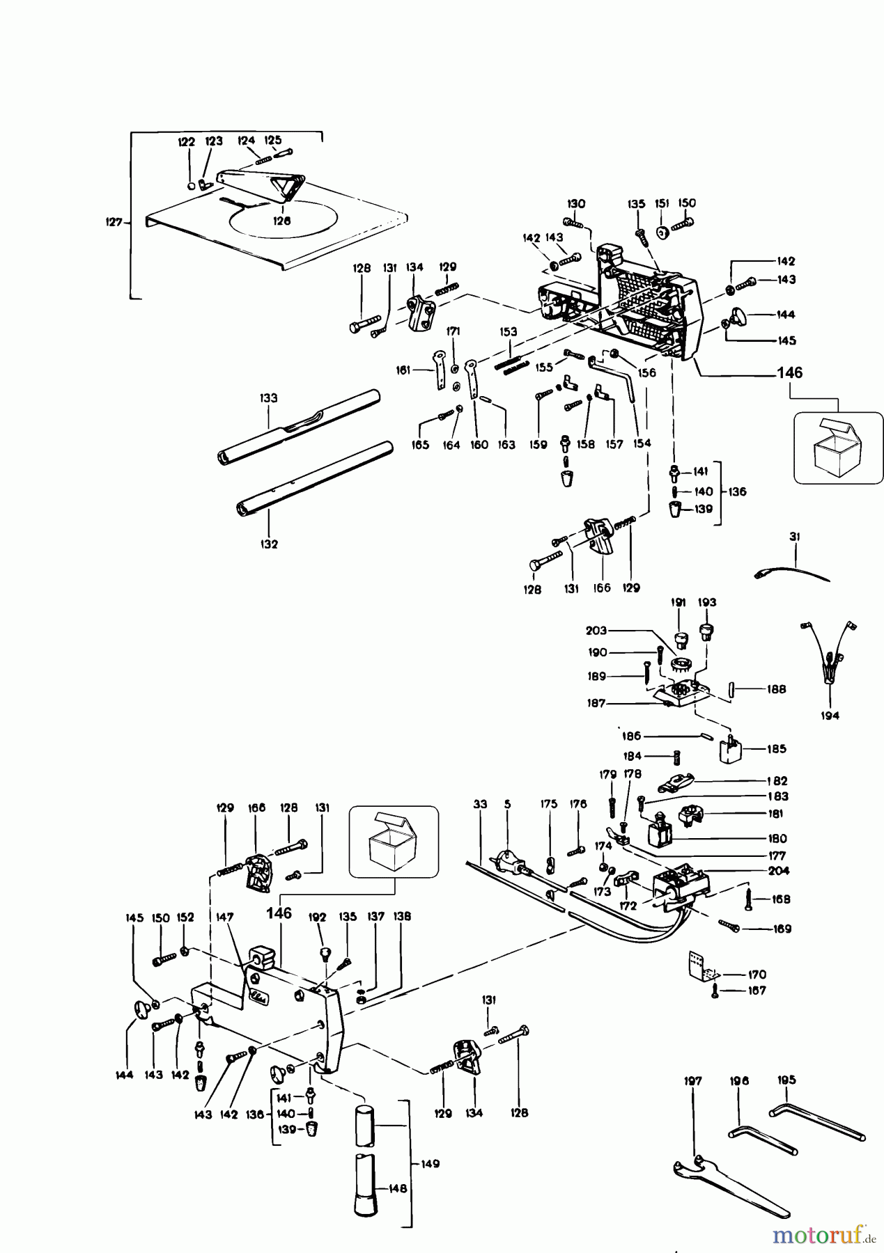
Hier finden Sie die Ersatzteilzeichnung für ELU WOODWORKING SAWS TISCH TGS170----F Seite 1. Wählen Sie das benötigte Ersatzteil aus der Ersatzteilliste Ihres ELU Gerätes aus und bestellen Sie einfach online. Viele ELU Ersatzteile halten wir ständig in unserem Lager für Sie bereit.



