STANLEY HEIZUNG ST-60VGFAE Ersatzteile
ST-60VGFAE HEIZUNG

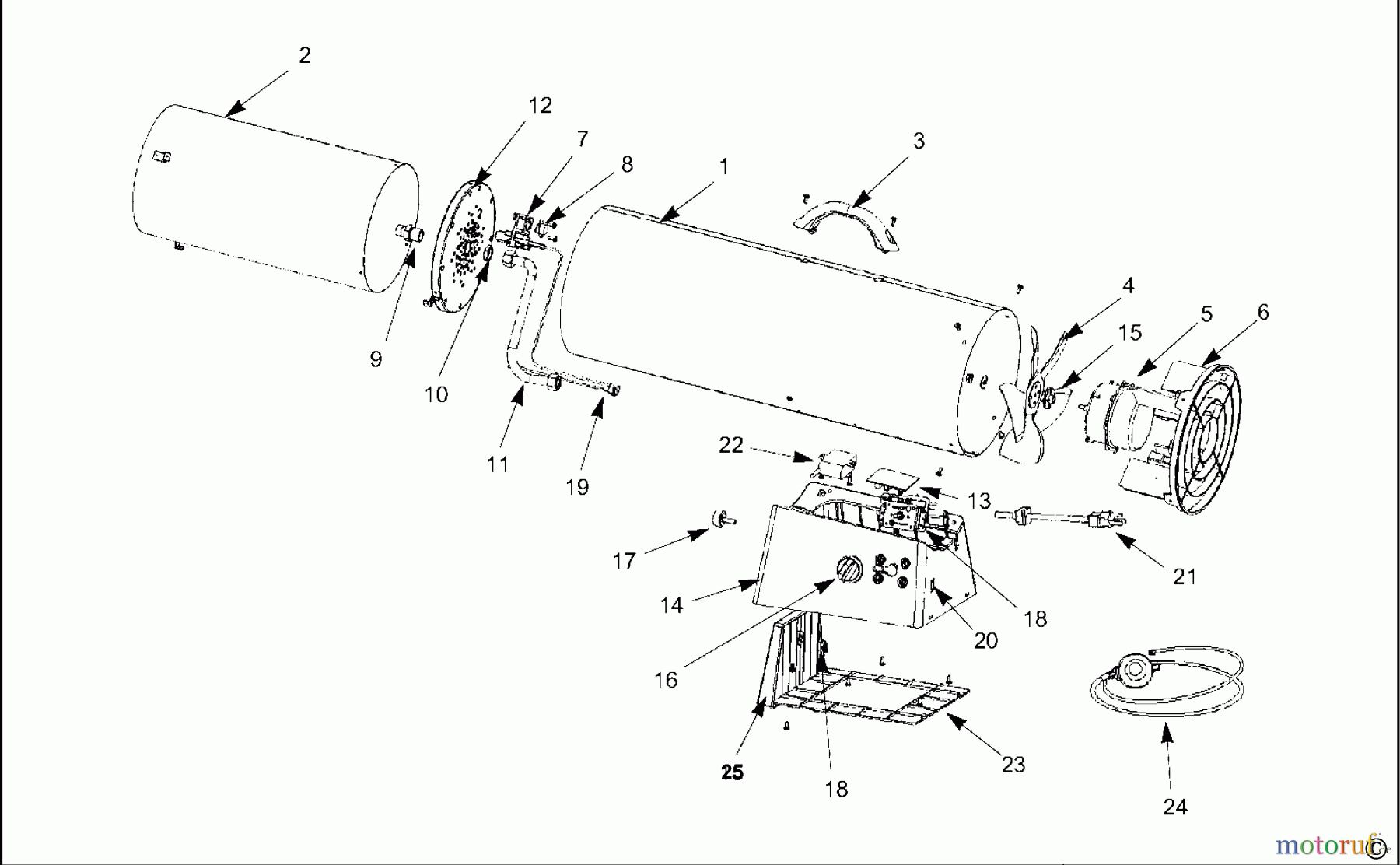
Hier finden Sie die Ersatzteilzeichnung für STANLEY CORDLESS-OTHER HEIZUNG ST-60VGFAE Seite 1. Wählen Sie das benötigte Ersatzteil aus der Ersatzteilliste Ihres STANLEY Gerätes aus und bestellen Sie einfach online. Viele STANLEY Ersatzteile halten wir ständig in unserem Lager für Sie bereit.


Qualitätsmanagement
Informieren Sie uns, wenn Sie einen Fehler gefunden haben.

