MAC WERKSTATTWAGEN MB9100A Ersatzteile
MB9100A WERKSTATTWAGEN

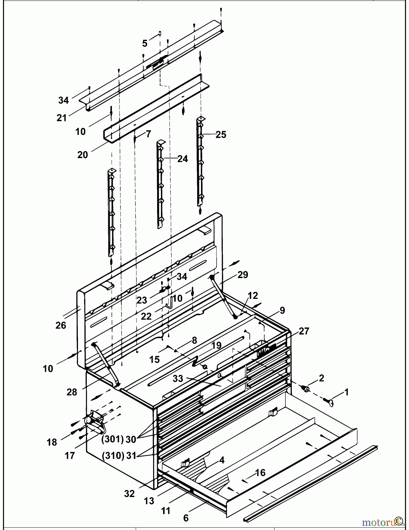
Hier finden Sie die Ersatzteilzeichnung für MAC STORAGE WERKSTATTWAGEN MB9100A Seite 1. Wählen Sie das benötigte Ersatzteil aus der Ersatzteilliste Ihres MAC Gerätes aus und bestellen Sie einfach online. Viele MAC Ersatzteile halten wir ständig in unserem Lager für Sie bereit.


Qualitätsmanagement
Informieren Sie uns, wenn Sie einen Fehler gefunden haben.

