ELU DUST EXTRACTORS & COLLECTORS STAUBFÄNGER EDE503 Ersatzteile
EDE503 STAUBFÄNGER

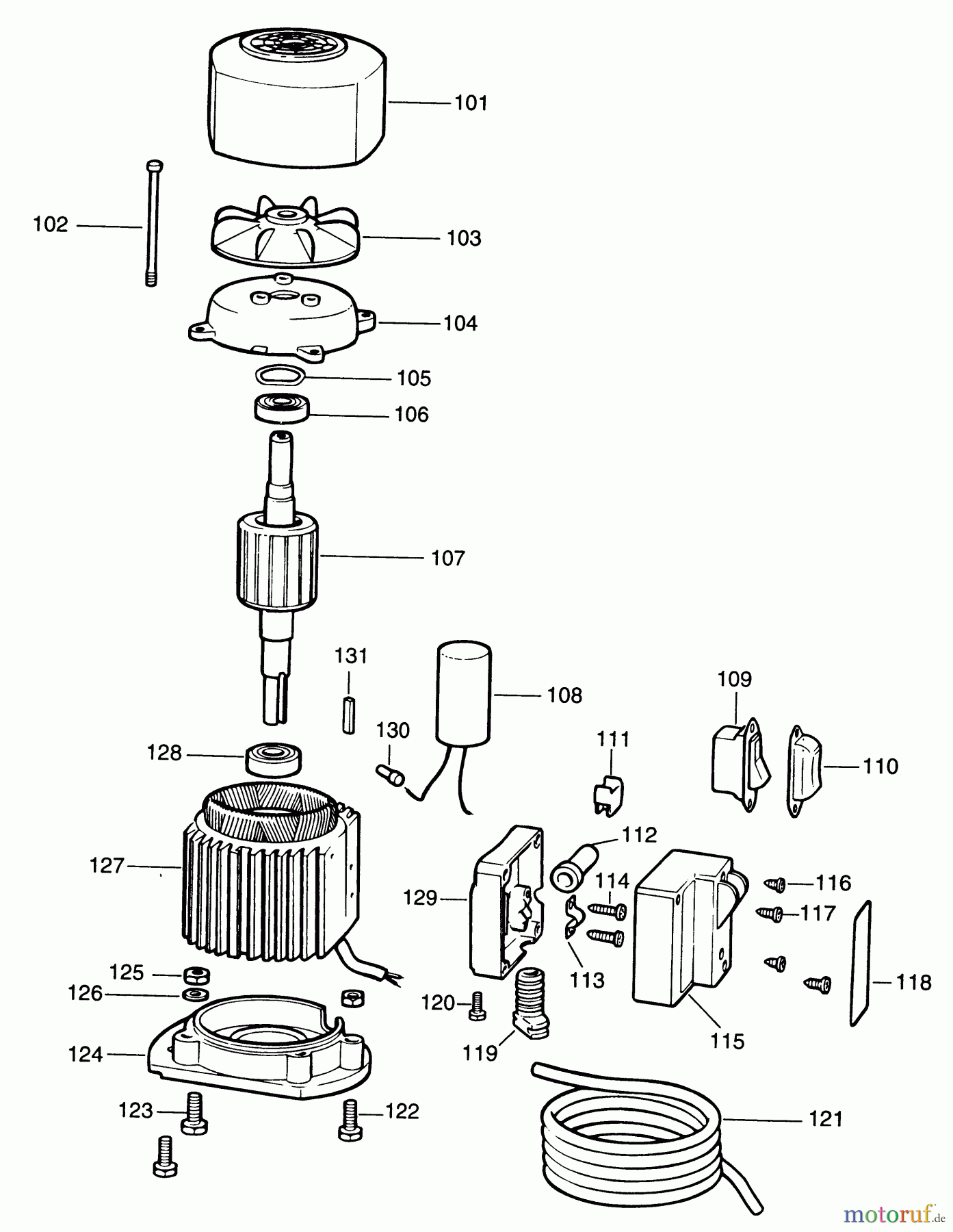
Hier finden Sie die Ersatzteilzeichnung für ELU WOODWORKING DUST EXTRACTORS & COLLECTORS STAUBFÄNGER EDE503 Seite 2. Wählen Sie das benötigte Ersatzteil aus der Ersatzteilliste Ihres ELU Gerätes aus und bestellen Sie einfach online. Viele ELU Ersatzteile halten wir ständig in unserem Lager für Sie bereit.
| BildNr | Artikel Nummer | Bezeichnung | |
| 101 | SB-860445-00 | ABDECKUNG | |
| 102 | SB-31280 | VERBINDUNGSSTANGE | |
| 103 | SB-860444-00 | LÜFTER | |
| 104 | SB-860443-00 | ENDKAPPE | |
| 105 | SB-860080-02 | RING | |
| 106 | SB-330003-13 | KUGELLAGER | |
| 107 | SB-197252 | ANKER 1 PH | |
| 108 | SB-44755 | KONDENSATOR | |
| 109 | SB-44204 | SWITCH 3 PH | |
| 110 | SB-44821 | KAPPE | |
| 111 | SB-44617 | VERBINDER | |
| 113 | SB-11791 | BAND | |
| 114 | SB-330045-05 | SCHRAUBE | |
| 115 | SB-31780 | ABDECKUNG | |
| 116 | SB-11271 | SCHRAUBE | |
| 117 | SB-860084-13 | SCHRAUBE | |
| 119 | SB-31873 | EINLASS | |
| 120 | SB-949894-06 | SCHRAUBE | |
| 121 | SB-45027 | KABEL ZSB | |
| 122 | SB-11144 | SCHRAUBE | |
| 123 | SB-860085-19 | SCHRAUBE | |
| 124 | SB-76562 | VORD.GLOCKENLAGER | |
| 125 | SB-860083-04 | MUTTER | |
| 126 | SB-860073-03 | WASHER M8 | |
| 127 | SB-197189 | FELD ZSB | |
| 128 | SB-861721-12 | KUGELLAGER | |
| 129 | SB-31762 | KASTEN | |
| 130 | SB-44042 | VERBINDER | |
| 131 | SB-11631 | SCHLUESSEL | |


Qualitätsmanagement
Informieren Sie uns, wenn Sie einen Fehler gefunden haben.

