ELU SAWS BANDSÄGE EBS3501---A Ersatzteile
EBS3501---A BANDSÄGE

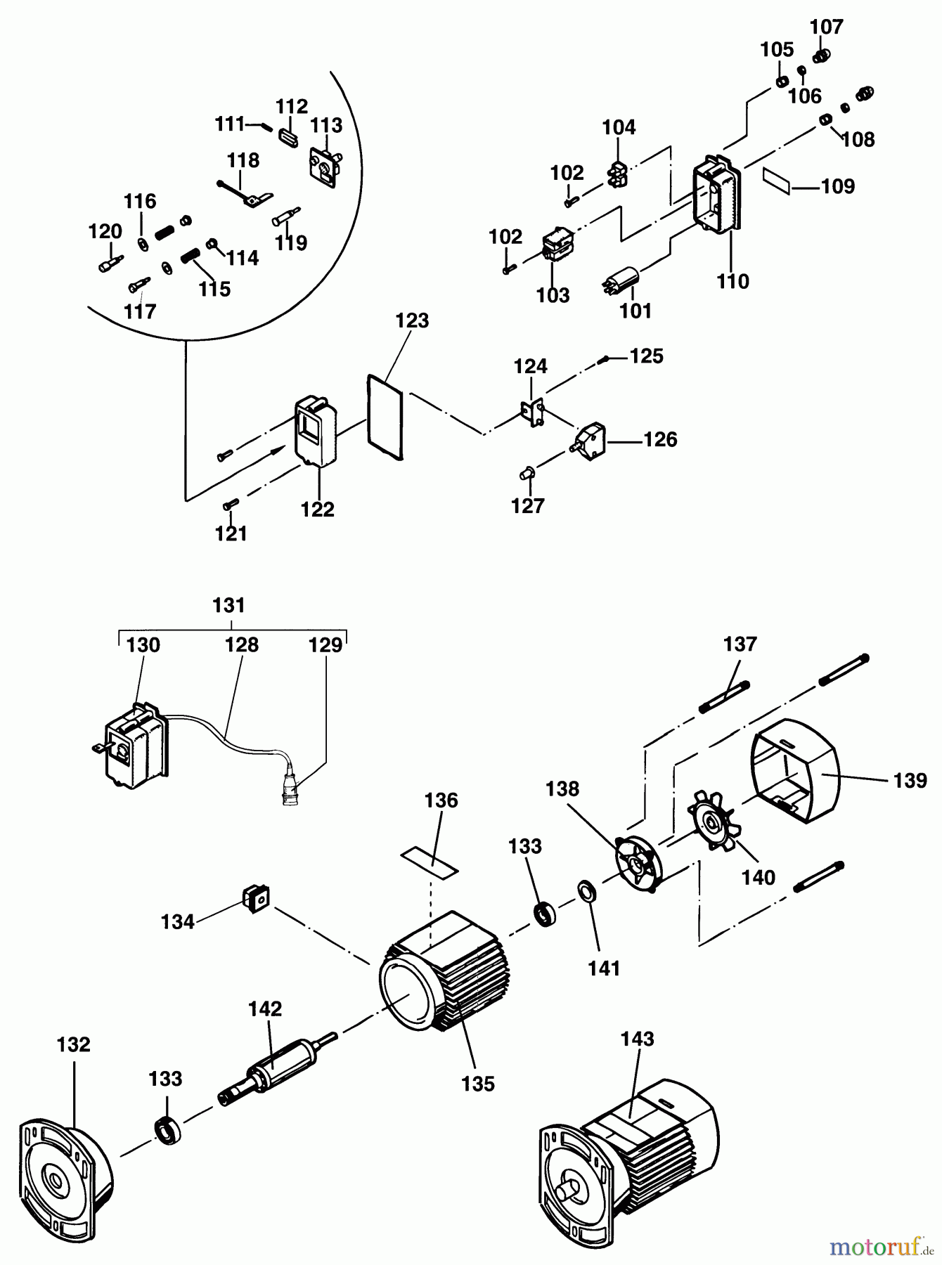
Hier finden Sie die Ersatzteilzeichnung für ELU WOODWORKING SAWS BANDSÄGE EBS3501---A Seite 2. Wählen Sie das benötigte Ersatzteil aus der Ersatzteilliste Ihres ELU Gerätes aus und bestellen Sie einfach online. Viele ELU Ersatzteile halten wir ständig in unserem Lager für Sie bereit.



