EXPERT SCHUBLADENSCHRANK E010238B Ersatzteile
E010238B SCHUBLADENSCHRANK

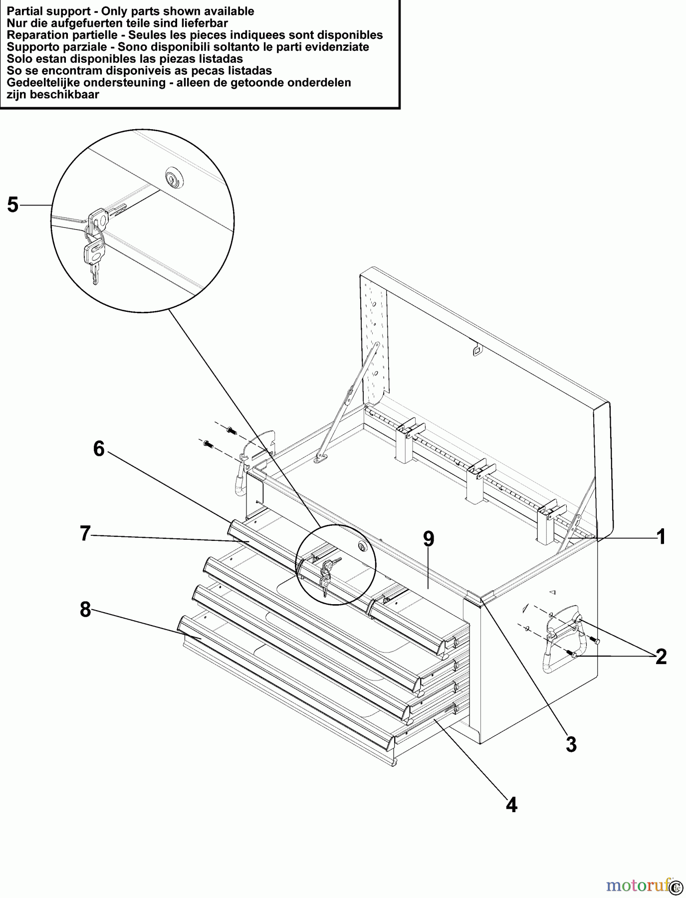
Hier finden Sie die Ersatzteilzeichnung für EXPERT STORAGE SCHUBLADENSCHRANK E010238B Seite 1. Wählen Sie das benötigte Ersatzteil aus der Ersatzteilliste Ihres EXPERT Gerätes aus und bestellen Sie einfach online. Viele EXPERT Ersatzteile halten wir ständig in unserem Lager für Sie bereit.
| BildNr | Artikel Nummer | Bezeichnung | |
| 1 | SB-E010270B | STOP | |
| 2 | SB-E010257B | HANDLE | |
| 3 | SB-E010175B | BUMPER | |
| 4 | SB-E010259B | SCHIEBEN | |
| 5 | SB-E010264B | SCHLOSS | |
| 6 | SB-E010176B | KAPPE | |
| 7 | SB-E010265B | HANDLE | |
| 8 | SB-E010267B | HANDLE | |
| 9 | SB-E010269B | TYPENSCHILD | |


Qualitätsmanagement
Informieren Sie uns, wenn Sie einen Fehler gefunden haben.

