DEWALT RADIALKREISSÄGEN RADIALARMSÄGE DW728 Ersatzteile
DW728 RADIALARMSÄGE

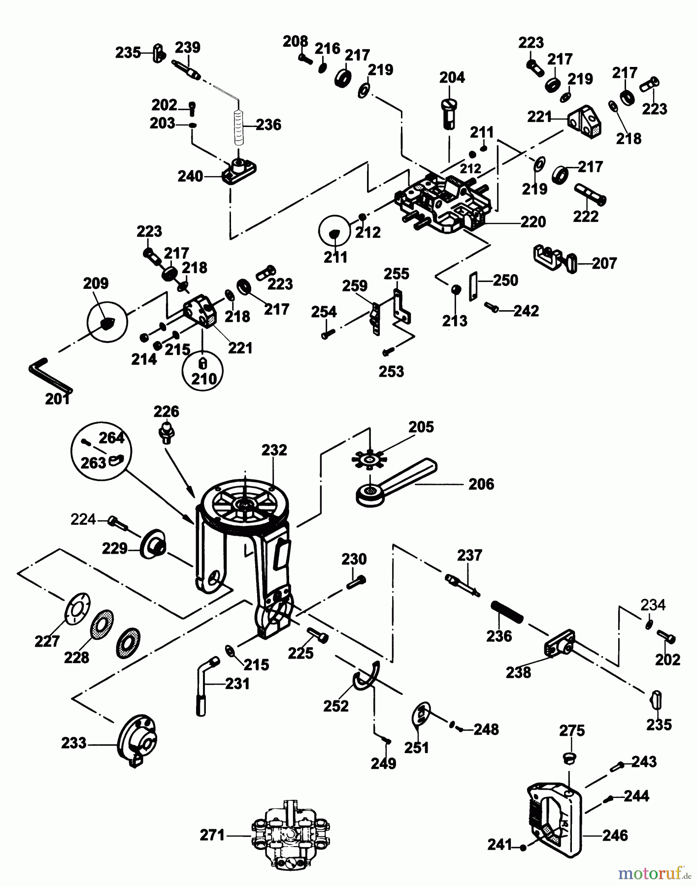
Hier finden Sie die Ersatzteilzeichnung für DEWALT HOLZARBEITEN RADIALKREISSÄGEN RADIALARMSÄGE DW728 Seite 3. Wählen Sie das benötigte Ersatzteil aus der Ersatzteilliste Ihres DEWALT Gerätes aus und bestellen Sie einfach online. Viele DEWALT Ersatzteile halten wir ständig in unserem Lager für Sie bereit.



