DEWALT Gehrungssägen GEHRUNGSSÄGE DW252-----E Ersatzteile
DW252-----E GEHRUNGSSÄGE

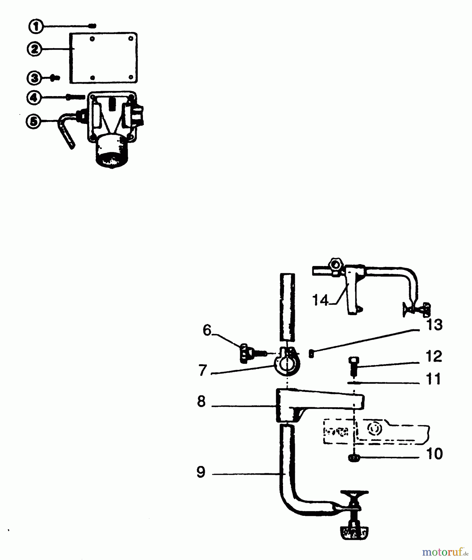
Hier finden Sie die Ersatzteilzeichnung für DEWALT HOLZARBEITEN Gehrungssägen GEHRUNGSSÄGE DW252-----E Seite 1. Wählen Sie das benötigte Ersatzteil aus der Ersatzteilliste Ihres DEWALT Gerätes aus und bestellen Sie einfach online. Viele DEWALT Ersatzteile halten wir ständig in unserem Lager für Sie bereit.
| BildNr | Artikel Nummer | Bezeichnung | |
| 1 | SB-860083-02 | MUTTER | |
| 3 | SB-860093-17 | SCHRAUBE | |
| 4 | SB-11322 | SCHRAUBE | |
| 5 | SB-44588 | DROP VOLT DEVICE | |
| 6 | SB-862799-00 | KNOPF ZSB | |
| 7 | SB-76150 | BAND | |
| 8 | SB-76144 | HALTERUNG | |
| 9 | SB-197955 | ATTACH COMPLETE | |
| 10 | SB-860092-01 | MUTTER | |
| 11 | SB-860074-03 | UNTERLEGSCHEIBE | |
| 12 | SB-860093-07 | SCHRAUBE | |
| 13 | SB-860083-03 | MUTTER | |


Qualitätsmanagement
Informieren Sie uns, wenn Sie einen Fehler gefunden haben.

